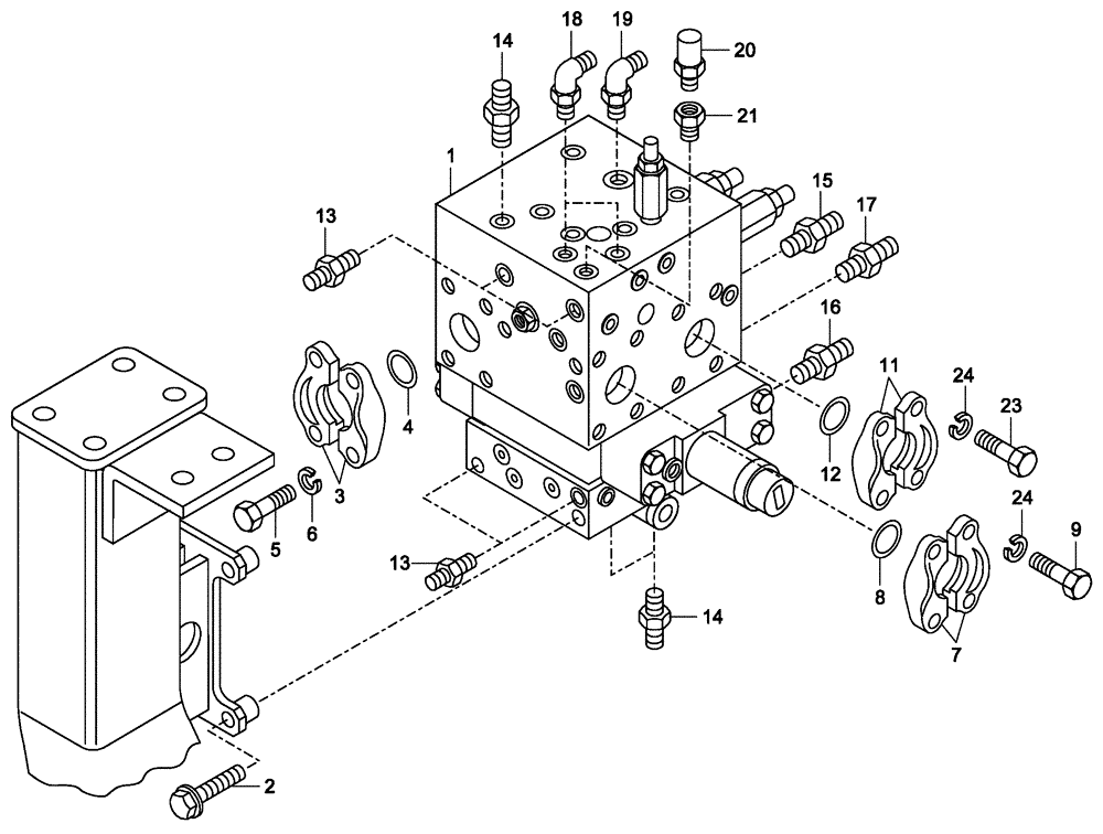
Запчасти Case 340 (72A00010721[001]) - DUMPING SYSTEM - DISTRIBUTION VALVE (35) - HYDRAULIC SYSTEMS

Схема запчастей Case 340 - (72A00010721[001]) - DUMPING SYSTEM - DISTRIBUTION VALVE (35) - HYDRAULIC SYSTEMS
21
23
4
11
18
5
17
3
7
14
15
20
9
1
13
16
6
24
2
24
8
14
19
13
12
FIT
1:1
100%

Артикул

Название

Примечание

Количество

1

89500411534

DISTRIBUTOR

1шт.

See Figure(s) 72H00000002

1шт.

2

8916678234

BOLT,M12 x 50mm

M12 x 50

4шт.

3

8900191135

FLANGE

2шт.

4

8900125073

SEALING RING

SEALRING

1шт.

5

8916710434

BOLT,M12 x 30mm

M12 x 30

4шт.

6

8900115529

LOCK WASHER

12

4шт.

7

8900191133

FLANGE

2шт.

8

8917289480

O-RING

SEALRING

1шт.

9

8900125707

BOLT,M10 x 30mm

M10 x 30

4шт.

11

8900191136

FLANGE

2шт.

12

8917289180

O-RING

1шт.

13

89500407467

CONNECTION

4шт.

14

89500408181

CONNECTION

3шт.

15

89500410773

HYD CONNECTOR

1шт.

16

89500403720

CONNECTION

1шт.

17

89500407730

CONNECTION

1шт.

18

89500406102

CONNECTION

2шт.

19

89500406103

CONNECTION

1шт.

20

8900183360

SWIVEL CONNECTION

1шт.

21

89500408959

ADAPTER

1шт.

23

8900103291

BOLT

M10 x 30

4шт.

24

8900001049

LOCK WASHER

10

8шт.

Выбрано товаров: 23