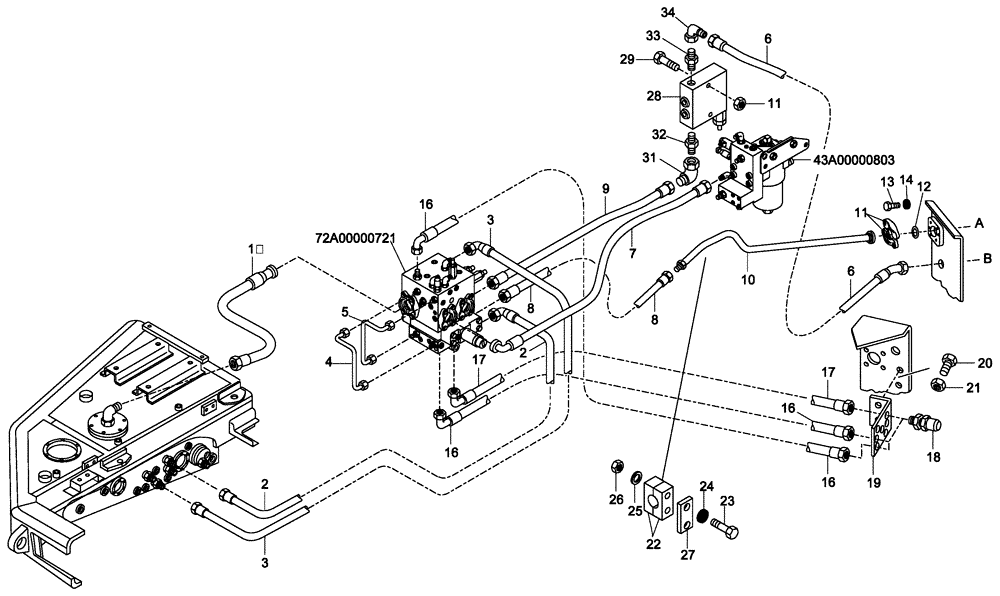
Запчасти Case 340 (72A00010722[001]) - DUMPING SYSTEM - HYDRAULIC CIRCUIT (35) - HYDRAULIC SYSTEMS

Схема запчастей Case 340 - (72A00010722[001]) - DUMPING SYSTEM - HYDRAULIC CIRCUIT (35) - HYDRAULIC SYSTEMS
2
25
24
5
19
33
4
16
29
8
16
17
20
12
16
11
18
22
6
6
32
11
3
9
27
31
16
347
23
26
10
13
1
21
7
28
14
FIT
1:1
100%

Артикул

Название

Примечание

Количество

1

89500432180

HOSE

2"-12 ORFS; 1340 mm Lg.

1шт.

2

89500407789

HOSE

1шт.

3

89500407790

HOSE

1шт.

4

89500407580

PIPE

1шт.

5

89500407581

PIPE

1шт.

6

89500410836

HOSE

1шт.

7

89500407746

PIPE

1шт.

8

89500407731

HOSE

1шт.

9

89500410840

HOSE

1шт.

10

89500407579

PIPE

1шт.

11

8900191433

FLANGE

2шт.

12

8917289180

O-RING

1шт.

13

8900119987

BOLT

M12X40

4шт.

14

8900115529

LOCK WASHER

4шт.

16

89500408976

HOSE

2шт.

17

89500408183

HOSE

1шт.

18

8900189997

HYD CONNECTOR

3шт.

19

89500408903

SUPPORT

1шт.

20

8900115589

BOLT

M10X30

2шт.

21

8900140777

NUT

M10

2шт.

22

89500407409

COLLAR

2шт.

23

8900012143

BOLT,M6 x 55mm

M6X55

2шт.

24

8900955275

LOCK WASHER

2шт.

25

89500407418

GASKET

2шт.

26

8900108842

NUT

2шт.

27

89500407425

PLATE

1шт.

28

89500411120

VALVE

1шт.

29

8916592524

SCREW

M8X1.25X70

2шт.

30

8900115122

NUT

M8

2шт.

31

89500406109

CONNECTION

1шт.

32

89500406117

HYD CONNECTOR

1шт.

33

89500408432

HYD CONNECTOR

1шт.

34

89500406108

CONNECTION

1шт.

Выбрано товаров: 33