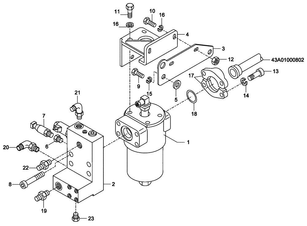
Запчасти Case 340 (43A00000803[001]) - STEERING SYSTEM - VALVES CLAMPINGS (41) - STEERING

Схема запчастей Case 340 - (43A00000803[001]) - STEERING SYSTEM - VALVES CLAMPINGS (41) - STEERING
3
8
16
20
19
2
9
22
23
12
4
13
1
5
15
14
16
11
21
6
7
16
10
FIT
1:1
100%

Артикул

Название

Примечание

Количество

1

89500408466

ENGINE OIL FILTER

Assy

1шт.

See Figure(s) 43K00000006

1шт.

2

89500408917

VALVE

1шт.

See Figure(s) 43N00000001

1шт.

3

89500406618

SUPPORT

1шт.

4

89500406619

SUPPORT

1шт.

5

89500406734

SPACER

2шт.

6

89500408623

ADAPTER

1шт.

7

89500409101

SWITCH

1шт.

8

8900125043

BOLT,M20 x 80mm

M20 x 80

4шт.

9

8900116825

BOLT

M16 x 40

2шт.

10

8900119987

BOLT

M12 x 40

2шт.

11

8916629734

BOLT,M12 x 25mm

M12 x 25

4шт.

12

8916984431

NUT

M12

2шт.

13

8916716634

BOLT,M20 x 60mm

M20 x 60

4шт.

14

8900127604

SPRING WASHER

M20

4шт.

15

8900110597

WASHER

16 x 32 x 4.2

2шт.

16

8900140473

WASHER

12 x 24 x 3.2

6шт.

17

89500408286

FLANGE

2шт.

18

8917290080

O-RING

1шт.

19

89500403863

HYD CONNECTOR

1шт.

20

89500406105

CONNECTION

1шт.

21

89500408232

CONNECTION

1шт.

22

89500406117

HYD CONNECTOR

1шт.

23

8900005447

PLUG

1шт.

Выбрано товаров: 0