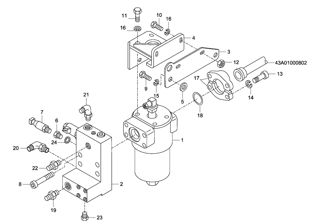
Запчасти Case 340 (43A00010803[001]) - STEERING SYSTEM - OIL FILTER ASSEMBLY (87451603) (09) - Implement / Hydraulics / Frame / Brakes

Схема запчастей Case 340 - (43A00010803[001]) - STEERING SYSTEM - OIL FILTER ASSEMBLY (87451603) (09) - Implement / Hydraulics / Frame / Brakes
24
1
7
21
14
4
18
3
5
17
19
10
15
6
8
9
22
13
12
16
16
23
11
2
20
FIT
1:1
100%

Артикул

Название

Примечание

Количество

1

89500408466

ENGINE OIL FILTER

Assy

1шт.

See Figure(s) 43K00000006

1шт.

2

89500408917

VALVE

1шт.

See Figure(s) 43N00000001

1шт.

3

89500406618

SUPPORT

1шт.

4

89500406619

SUPPORT

1шт.

5

89500406734

SPACER

2шт.

6

89500408623

ADAPTER

1шт.

7

89500409101

SWITCH

1шт.

8

8900125043

BOLT,M20 x 80mm

M20 x 80

4шт.

9

8900116825

BOLT

M16 x 40

2шт.

10

8900119987

BOLT

M12 x 40

2шт.

11

8916629734

BOLT,M12 x 25mm

M12 x 25

4шт.

12

8916984431

NUT

M12

2шт.

13

8916716634

BOLT,M20 x 60mm

M20 x 60

4шт.

14

8900127604

SPRING WASHER

M20

4шт.

15

8900110597

WASHER

16 x 32 x 4.2

2шт.

16

8900140473

WASHER

12 x 24 x 3.2

6шт.

17

89500408286

FLANGE

2шт.

18

8917290080

O-RING

1шт.

19

89500403863

HYD CONNECTOR

1шт.

20

89500406105

CONNECTION

1шт.

21

89500408232

CONNECTION

1шт.

22

89500406117

HYD CONNECTOR

1шт.

23

8900005447

PLUG

1шт.

24

89500413896

SEALING WASHER

1шт.

Выбрано товаров: 26