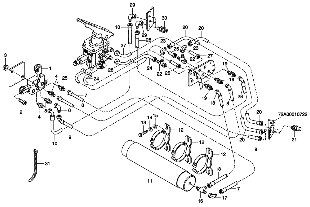
Запчасти Case 340 (47A01001811[001]) - HYDRAULIC CIRCUIT BRAKE SYSTEM - FRAME PART (09) - Implement / Hydraulics / Frame / Brakes

Схема запчастей Case 340 - (47A01001811[001]) - HYDRAULIC CIRCUIT BRAKE SYSTEM - FRAME PART (09) - Implement / Hydraulics / Frame / Brakes
12
10
6
19
2
22
24
3
14
25
18
9
25
5
27
20
18
22
12
21
20
27
16
20
10
29
7
17
11
31
9
1
23
30
29
12
19
26
8
28
28
13
4
8
4
15
24
19
7
23
20
26
FIT
1:1
100%

Артикул

Название

Примечание

Количество

1

89500408916

VALVE

1шт.

See Figure(s) 47K00000001

1шт.

2

8900108856

BOLT

M6 x 50

2шт.

3

8900125009

NUT

M6

2шт.

4

89500406116

CONNECTION

3шт.

5

89500408181

CONNECTION

1шт.

6

89500409390

HYD CONNECTOR

1шт.

7

89500407755

HOSE,9.65 mm ID x 1300.00 mm

1шт.

8

89500407781

HOSE

1шт.

9

89500408976

HOSE

1шт.

10

89500407786

HOSE

1шт.

11

89500408170

ACCUMULATOR

1шт.

12

89500408465

COLLAR

3шт.

13

8900001826

BOLT

M8 x 6

6шт.

14

8900956220

LOCK WASHER

8

6шт.

15

8917094924

WASHER

8 x 1.6 x 16

6шт.

16

89500407997

TEE

1шт.

17

89500406107

CONNECTION

1шт.

18

89500407782

HOSE

1шт.

19

89500407662

HYD CONNECTOR

3шт.

20

89500409319

HOSE,2.00 mm ID x 3340.00 mm

2шт.

21

8900189997

HYD CONNECTOR

3шт.

22

89500409178

HYD CONNECTOR

2шт.

23

89500406107

CONNECTION

2шт.

24

89500407583

PIPE

1шт.

25

89500407584

PIPE

1шт.

26

89500407587

PIPE

1шт.

27

89500407588

PIPE

1шт.

28

89500407783

HOSE

1шт.

29

89500406107

CONNECTION

2шт.

30

89500406220

HYD CONNECTOR

3шт.

31

8900150511

COLLAR

1шт.

Выбрано товаров: 32