Запчасти Case 845 (02.03[00]) - COOLING SYSTEM (02) - ENGINE

Схема запчастей Case 845 - (02.03[00]) - COOLING SYSTEM (02) - ENGINE
5
7
19
21
14
18
7
16
13
4
15
12
6
21
2
8
22
17
11
20
1
10
9
7
23
2
6
1
3
FIT
1:1
100%

Артикул

Название

Примечание

Количество

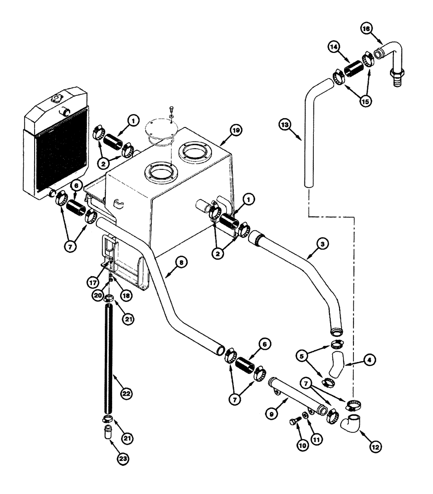
1

75252197

HOSE

2шт.

2

70921914

CLAMP

4шт.

3

73163936

TUBE

1шт.

4

73163935

HOSE

1шт.

5

70927313

CLAMP

2шт.

6

73116330

FLEXIBLE HOSE,38.10 mm ID x 101.60 mm, SAE 20R1

2шт.

7

70925881

CLAMP

6шт.

8

75321572

TUBE

1шт.

9

73162678

TUBE

1шт.

10

11107031

BOLT,Hex, M10 x 45mm, Cl 10.9

2шт.

11

12644324

WASHER,10.2mm ID x 35mm OD x 3mm Thk

2шт.

12

73158847

ELBOW,38.1mm ID x 152mm L, SAE 20R4-D2

1шт.

13

75321546

TUBE

1шт.

14

73116334

HOSE

1шт.

15

70922660

CLAMP

2шт.

16

73163959

ELBOW

1шт.

17

15540431

SCREW,Hex, M12 x 1.25 x 30mm, Cl 10.9, Full Thd

8шт.

18

70928460

WASHER

8шт.

19

75320686

RESERVOIR, COOLANT E

1шт.

20

16105011

NUT,Hex, M12 x 1.25, Cl 8

8шт.

21

70922660

CLAMP

2шт.

22

75257822

HOSE

1шт.

23

75257823

PLUG

1шт.

Выбрано товаров: 23