Запчасти Case 845 (02.07[00]) - MUFFLER AND EXHAUST SYSTEM (02) - ENGINE

Схема запчастей Case 845 - (02.07[00]) - MUFFLER AND EXHAUST SYSTEM (02) - ENGINE
14
10
11
4
8
6
5
12
3
1
2
8
16
4
13
15
7
9
FIT
1:1
100%

Артикул

Название

Примечание

Количество

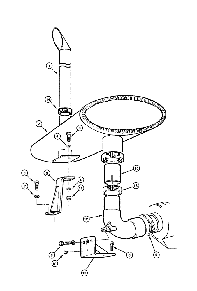
1

75247197

EXHAUST SYSTEM PIPE,96.5 mm ID, 99.5 mm OD, 1040 mm Length

1шт.

2

73121707

MUFFLER

1шт.

3

11112331

BOLT,Hex, M12 x 28mm, Cl 10.9, Full Thd

1шт.

4

10517079

LOCK WASHER,12.2mm ID x 21.1mm OD x 3.1mm Thk

2шт.

5

73163930

BRACKET

1шт.

6

11106031

BOLT,Hex, M10 x 1.5 x 20mm, Cl 10.9

2шт.

7

12646921

WASHER,12.2mm ID x 28mm OD x 3mm Thk

2шт.

8

J902460

FLANGE BOLT,Hex, M10 x 25mm, Cl 10.9

4шт.

9

J903652

CLAMP

1шт.

10

70901652

PLUG

1шт.

11

11701721

NUT,M10, Cl 10

1шт.

12

J910991

ELBOW

1шт.

13

J920584

BRACKET

1шт.

14

75249100

CLAMP

1шт.

15

73163933

TUBE

1шт.

16

75239734

CLAMP

1шт.

Выбрано товаров: 16