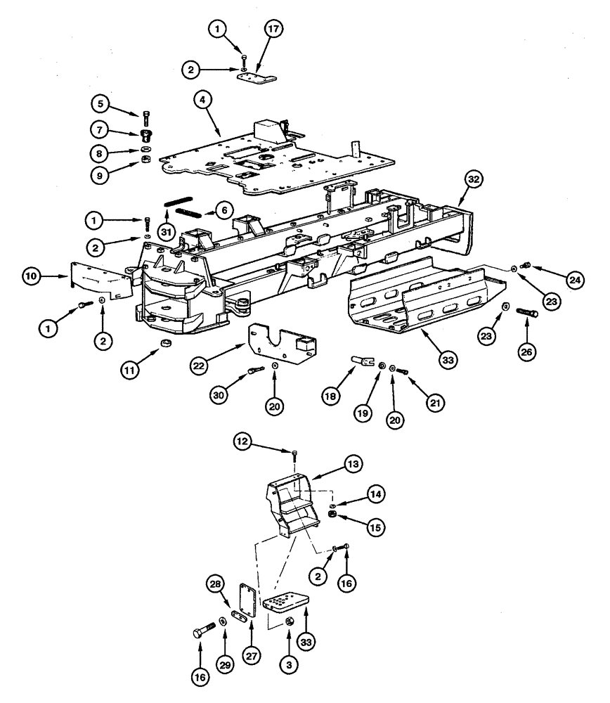
Запчасти Case 845 (09.02[00]) - REAR CHASSIS (09) - CHASSIS

Схема запчастей Case 845 - (09.02[00]) - REAR CHASSIS (09) - CHASSIS
7
5
19
4
32
3
20
18
21
2
23
2
2
33
8
14
28
12
11
20
17
10
23
6
30
15
26
24
22
16
2
1
27
16
13
1
33
9
31
1
29
FIT
1:1
100%

Артикул

Название

Примечание

Количество

1

16043231

SCREW,Hex, M8 x 16mm, Cl 10.9, Full Thd

17шт.

2

10730301

WASHER,8.15mm ID x 17mm OD x 2mm Thk

29шт.

3

11701721

NUT,M10, Cl 10

16шт.

4

75284074

FLOOR

FLOOR

1шт.

5

15981531

BOLT,Hex, M16 x 1.5 x 90mm, Cl 10.9

2шт.

6

73153265

GASKET

3шт.

7

76022229

INSULATOR BLOCK

2шт.

8

75254313

WASHER,16.5mm ID x 58mm OD x 4.76mm Thk

2шт.

9

15504021

NUT,M16 x 1.5

2шт.

10

75320230

GUARD

PROCTECTOR

1шт.

11

75213759

BUSHING,66.84mm ID x 79.38mm OD x 25.4mm L

3шт.

12

15988431

BOLT,Hex, M20 x 1.5 x 65mm, Cl 10.9

4шт.

13

75321494

STEP

RH

1шт.

13

75321495

STEP

LH

1шт.

14

70677012

WASHER,20.64mm ID x 44.45mm OD x 7.94mm Thk

4шт.

15

12575127

NUT,M20

4шт.

16

11107231

SCREW,Hex, M10 x 50mm, Cl 10.9

16шт.

17

75249861

COVER

1шт.

18

75248739

PIN,31.62mm OD x 171mm L

4шт.

19

10516871

LOCK WASHER,10.2mm ID x 17.7mm OD x 2.5mm Thk

4шт.

20

14496621

WASHER,10.5mm ID x 21mm OD x 2mm Thk

4шт.

21

11106231

BOLT,Hex, M10 x 1.5 x 25mm, Cl 10.9

4шт.

22

75248160

COVER

1шт.

23

10520001

WASHER,12.2mm ID x 22mm OD x 3mm Thk

12шт.

24

11113031

SCREW,Hex, M12 x 45mm, Cl 10.9, Full Thd

4шт.

25

75247830

GUARD

1шт.

26

11112631

BOLT,Hex, M12 x 35mm, Cl 10.9

6шт.

27

73163987

STRAP

4шт.

28

75320577

PLATE

PLATE

4шт.

29

70925311

WASHER

8шт.

30

11106431

SCREW,Hex, M10 x 1.5 x 30mm, Cl 10.9, Full Thd

4шт.

31

75250898

SEAL

2шт.

32

75257704

CHASSIS

1шт.

33

75321332

STEP

2шт.

Выбрано товаров: 34