Запчасти Case 845 (09.26[00]) - CAB - HAND RAIL AND HOOK (09) - CHASSIS

Схема запчастей Case 845 - (09.26[00]) - CAB - HAND RAIL AND HOOK (09) - CHASSIS
2
1
3
4
FIT
1:1
100%

Артикул

Название

Примечание

Количество

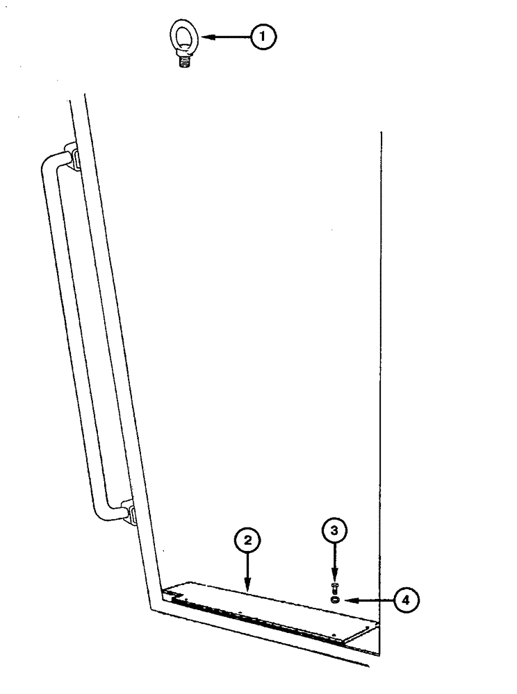
1

75310309

HOOK

4шт.

2

75311290

PLATE

(NOTE)

2шт.

3

75310286

SCREW,M6 x 1

(NOTE)

6шт.

4

75286866

WASHER

(NOTE)

6шт.

Выбрано товаров: 4