Качественные детали и логистика
Оригинальные и аналоговые запчасти с доставкой по России, Казахстану и Беларуси
©2022 PartSell ООО "Система" ИНН 2463123282 ОГРН 1212400004838
Центральный офис: г. Красноярск, Академика Киренского, д.87, пом.4
Телефон: 8 (800) 777-65-74 Email: zakaz@partsell.ru
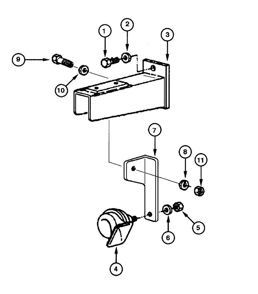
(04.14[00]) - ELECTRIC SYSTEM - HORN
№
Артикул
Название
Примечание
Количество
1
11106031
BOLT,Hex, M10 x 1.5 x 20mm, Cl 10.9
2шт.
2
12638601
WASHER,M10 x 18 x 2
3
75251148
SUPPORT
4
79114714
HORN
1шт.
5
16100833
NUT,M8, Cl 12
6
10615679
LOCK WASHER,Ext Tooth, M8
7
75320117
BRACKET
8
10516613
WASHER
9
16043431
SCREW,Hex, M8 x 1.25 x 20mm, Cl 10.9, Full Thd
10
12638501
WASHER,8.15mm ID x 15mm OD x 1.5mm Thk
11
14094910
NUT,Weld, M8
Выбрано товаров: 0