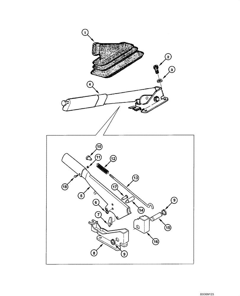
Запчасти Case 845 (07.02A[00]) - PARKING BRAKE ACTUATING LEVER (SN 020165 - ) (07) - BRAKES

Схема запчастей Case 845 - (07.02A[00]) - PARKING BRAKE ACTUATING LEVER (SN 020165 - ) (07) - BRAKES
12
2
9
16
4
6
5
15
13
3
14
11
1
8
18
17
7
10
9
FIT
1:1
100%

Артикул

Название

Примечание

Количество

1

5106733

BOOT

1шт.

2

14306231

HEX SOC SCREW,M8 x 1.25 x 16mm, Cl 10.9, Full Thd

4шт.

3

70929292

WASHER

4шт.

4

85827832

LEVER

Incl. 5 - 18

1шт.

5

85827834

LEVER

1шт.

6

86507012

SNAP RING,M6, Ext

1шт.

7

5110155

LEVER

1шт.

8

85805441

SUPPORT

1шт.

9

13400776

LOCKING RING

2шт.

10

4985122

BUTTON,5mm ID x 10mm OD x 30mm L

1шт.

11

10794012

NUT

1шт.

12

5105729

SPRING,14mm OD x 166.5mm L

1шт.

13

85827833

DIPSTICK

1шт.

14

4988275

PIN,14mm OD x 40mm L

1шт.

15

5131437

PIN,5.7mm OD x 6mm L

1шт.

16

5110153

RATCHET

1шт.

17

4985127

RIVET,23mm OD x 4mm D

1шт.

18

13272319

SCREW,Pozidriv Pan Hd, M4 x 18mm, Cl 5.8, Full Thd

1шт.

Выбрано товаров: 18