Запчасти Case 845 (08.01A[00]) - HYDRAULIC RESERVOIR - ASSEMBLY (08) - HYDRAULICS

Схема запчастей Case 845 - (08.01A[00]) - HYDRAULIC RESERVOIR - ASSEMBLY (08) - HYDRAULICS
6
15
3
9
6
9
8
7
2
8
12
4
5
7
10
13
6
1
11
14
FIT
1:1
100%

Артикул

Название

Примечание

Количество

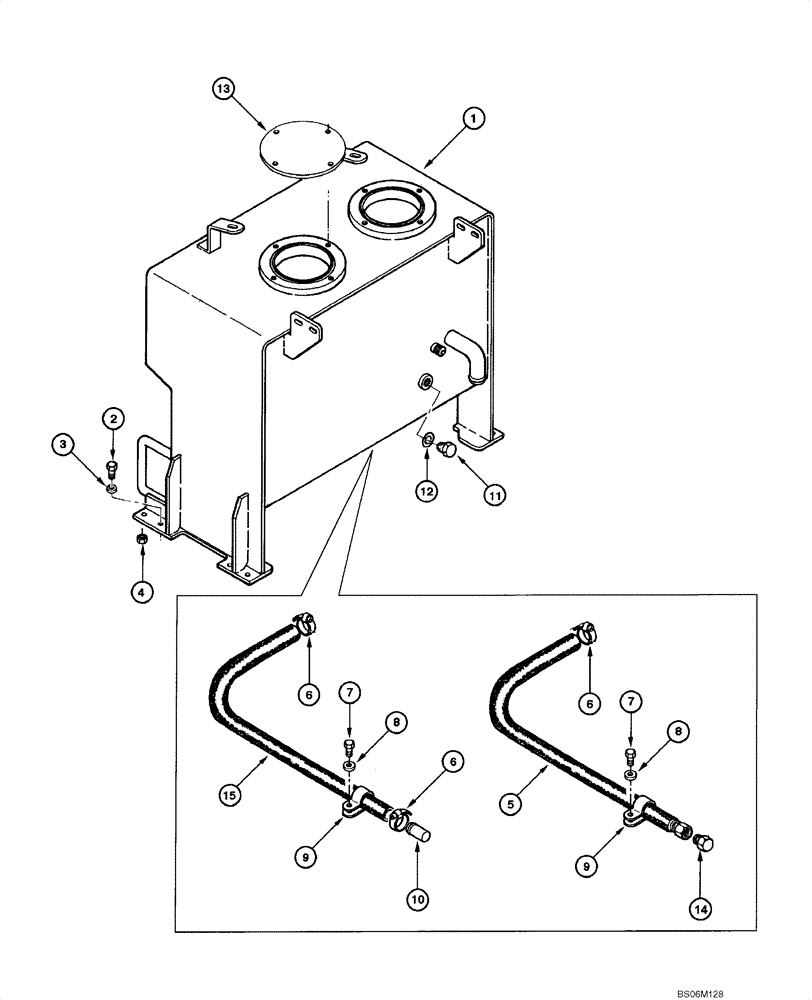
1

75324860

TANK, HYDRAULIC OIL

1шт.

2

15540431

SCREW,Hex, M12 x 1.25 x 30mm, Cl 10.9, Full Thd

8шт.

3

70928460

WASHER

8шт.

4

16105011

NUT,Hex, M12 x 1.25, Cl 8

4шт.

5

75257822

HOSE

1шт.

6

214-2114

CLAMP,35.56mm - 39.62mm

1шт.

7

16043231

SCREW,Hex, M8 x 16mm, Cl 10.9, Full Thd

1шт.

8

10730301

WASHER,8.15mm ID x 17mm OD x 2mm Thk

1шт.

9

515-23381

CLAMP,1 1/2", Insul, 3/8" Bolt

1шт.

10

75257823

PLUG

1шт.

11

70921216

PLUG

Incl. 12

8шт.

12

70926538

O-RING,16-1, Cl 8, 1.171" ID x .116" Thk

1шт.

13

REF

INSTRUCTION

Cover, See Figure 08.02

1шт.

14

79054457

PLUG

(SN 020118 - )

1шт.

15

75325498

HOSE,25.4mm ID x 1100mm L, SAE 100R3

(SN 020118 - )

1шт.

Выбрано товаров: 15