Качественные детали и логистика
Оригинальные и аналоговые запчасти с доставкой по России, Казахстану и Беларуси
©2022 PartSell ООО "Система" ИНН 2463123282 ОГРН 1212400004838
Центральный офис: г. Красноярск, Академика Киренского, д.87, пом.4
Телефон: 8 (800) 777-65-74 Email: zakaz@partsell.ru
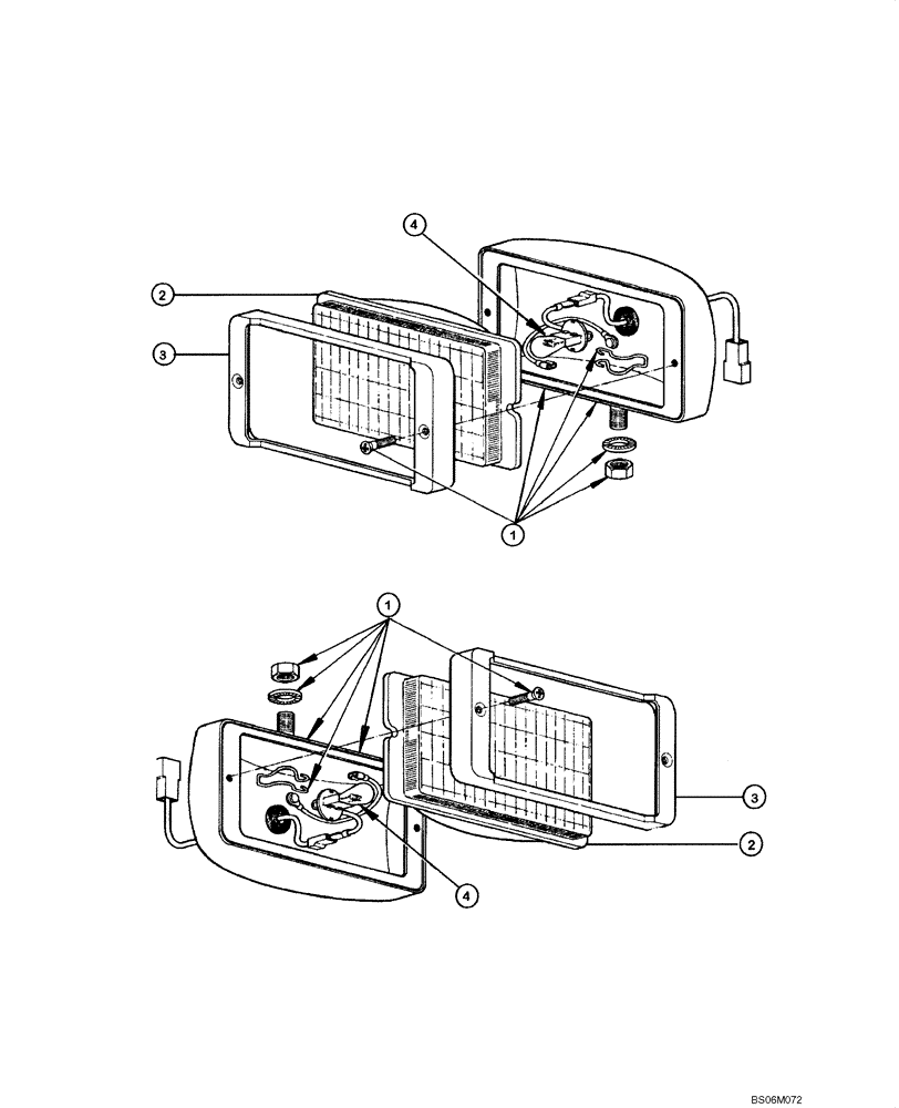
(04.23[00]) - FRONT AND REAR HEADLIGHT COMPOMENTS
№
Артикул
Название
Примечание
Количество
1
75253793
FRONT LAMP
1шт.
75247405
LAMP
Incl. 2 - 4
2
75288328
LENS
3
75288329
BEZEL
4
75288330
BULB
Выбрано товаров: 0