Качественные детали и логистика
Оригинальные и аналоговые запчасти с доставкой по России, Казахстану и Беларуси
©2022 PartSell ООО "Система" ИНН 2463123282 ОГРН 1212400004838
Центральный офис: г. Красноярск, Академика Киренского, д.87, пом.4
Телефон: 8 (800) 777-65-74 Email: zakaz@partsell.ru
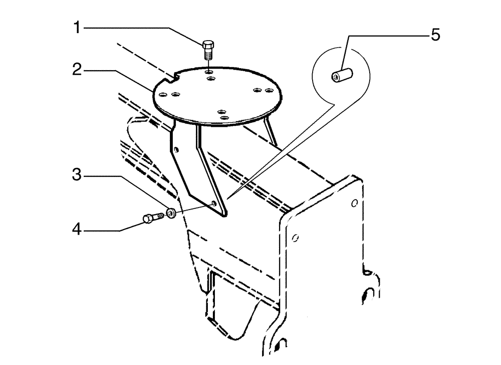
(06-72[01]) - SPARE TIRE SUPPORT
№
Артикул
Название
Примечание
Количество
1
514-1315
BOLT,Hex, M22 x 1.5 x 50mm, Cl 10.9
4шт.
2
87480821
SUPPORT
1шт.
3
14496931
WASHER,17mm ID x 30mm OD x 3mm Thk
6шт.
4
14257930
LOCK BOLT,Hex, M16 x 1.5 x 40mm, Cl 10.9
5
75254258
BLOCK
Выбрано товаров: 0