Качественные детали и логистика
Оригинальные и аналоговые запчасти с доставкой по России, Казахстану и Беларуси
©2022 PartSell ООО "Система" ИНН 2463123282 ОГРН 1212400004838
Центральный офис: г. Красноярск, Академика Киренского, д.87, пом.4
Телефон: 8 (800) 777-65-74 Email: zakaz@partsell.ru
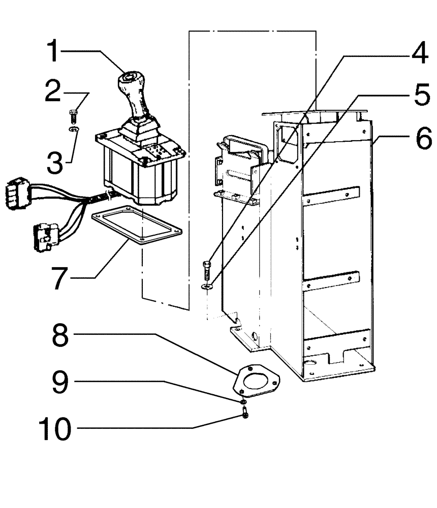
(06-04[01]) - TRANSMISSION - SHIFT LEVER
№
Артикул
Название
Примечание
Количество
1
8032400
CONTROL LEVER
1шт.
2
10979421
SCREW,Hex, M6 x 10mm, Cl 8.8
4шт.
3
14496321
WASHER
4
11113231
BOLT,Hex, M12 x 50mm, Cl 10.9
5
14496731
WASHER,M12 x 24 x 2.5 Thk
6
87737623
CONSOLE
7
87737470
PLATE
8
87738701
9
864-5016
HEX SOC SCREW,M5 x 16mm, Cl 8.8
3шт.
10
11195471
LOCK WASHER
Выбрано товаров: 0