Запчасти Case 865 (09.04[00]) - LINK ASSEMBLY (09) - CHASSIS

Схема запчастей Case 865 - (09.04[00]) - LINK ASSEMBLY (09) - CHASSIS
12
6
1
4
10
3
7
5
9
6
4
8
2
11
3
FIT
1:1
100%

Артикул

Название

Примечание

Количество

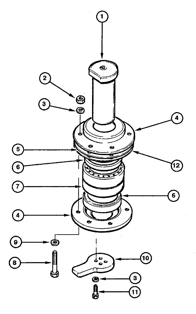
1

75213817

PIN,66.72mm OD x 180mm L

1шт.

2

70911028

NUT

6шт.

3

70912441

LOCK WASHER

10шт.

4

75213783

FLANGE

2шт.

5

75214969

SHIM,0.4mm Thk

1шт.

6

75213761

SEAL RETAINER

2шт.

7

73069310

BEARING ASSY,66.67mm ID x 112.71mm OD x 60.33mm W

1шт.

8

70928188

WASHER,13.49mm ID x 26.98mm OD x 2.41mm Thk

6шт.

9

70921567

SCREW

6шт.

10

73074170

PLATE

1шт.

11

70920585

BOLT

4шт.

12

75237665

SHIM,0.15mm Thk

1шт.

Выбрано товаров: 12