Запчасти Case 865 (09.09[00]) - BLADE - ASSEMBLY (13 FEET) (09) - CHASSIS

Схема запчастей Case 865 - (09.09[00]) - BLADE - ASSEMBLY (13 FEET) (09) - CHASSIS
8
11
10
3
6
5
9
2
5
4
4
1
4
7
12
4
FIT
1:1
100%

Артикул

Название

Примечание

Количество

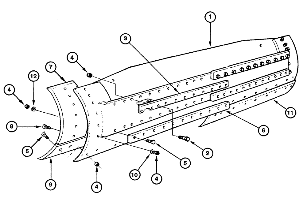
75250344

BLADE

13ft Conj.

1шт.

1

75250345

MOLDBOARD

1шт.

2

70921174

SCREW

22шт.

3

75251355

BAR

upper

1шт.

4

70911029

NUT

73шт.

5

70617127

PLOW BOLT,5/8" - 11 x 2 1/4"

39шт.

6

75239609

BAR

lower

2шт.

7

75241478

CUTTING EDGE

side

2шт.

8

70931930

BOLT

12шт.

9

75239491

CUTTING EDGE

center

1шт.

10

70912942

LOCK WASHER

12шт.

11

75239489

CUTTING EDGE

center

1шт.

12

70927381

WASHER,0.66" ID x 1.12" OD x 0.1" Thk

22шт.

Выбрано товаров: 13