Запчасти Case 865 (09.32[00]) - CAB - REAR UPHOLSTERY (09) - CHASSIS

Схема запчастей Case 865 - (09.32[00]) - CAB - REAR UPHOLSTERY (09) - CHASSIS
1
9
10
6
6
5
7
8
11
4
3
2
FIT
1:1
100%

Артикул

Название

Примечание

Количество

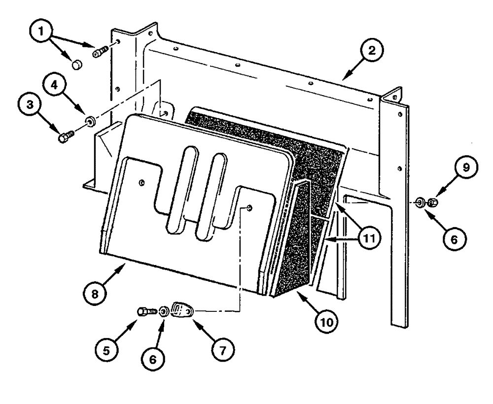
1

75313814

BOLT

10шт.

2

75313332

TRIM PANEL

1шт.

3

75310409

SCREW

2шт.

4

75296866

WASHER

2шт.

5

75313035

PIN

2шт.

6

75287779

WASHER

4шт.

7

75310336

WASHER

1шт.

8

75313333

TRIM PANEL

1шт.

9

75313822

NUT

2шт.

10

75254722

INSULATOR

LH

1шт.

10

75254439

INSULATOR

RH

1шт.

11

75255293

COVER

Cover

2шт.

Выбрано товаров: 12