Запчасти Case 865 (08.25[00]) - SCARIFIER HYDRAULIC CIRCUIT (08) - HYDRAULICS

Схема запчастей Case 865 - (08.25[00]) - SCARIFIER HYDRAULIC CIRCUIT (08) - HYDRAULICS
16
1
10
26
29
32
19
8
18
27
20
21
27
26
6
7
17
1
4
23
26
9
28
13
28
3
15
5
7
24
31
22
11
2
20
19
33
14
30
12
25
FIT
1:1
100%

Артикул

Название

Примечание

Количество

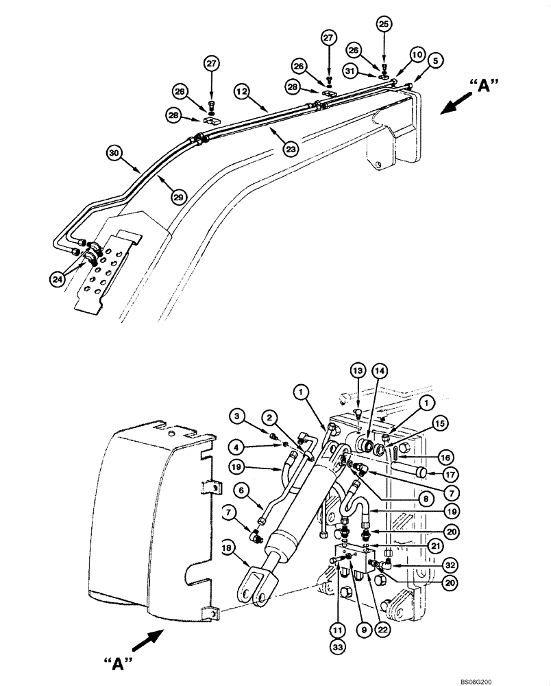
1

75320120

RIGID TUBE

2шт.

2

70927155

CLIP

1шт.

3

16042931

BOLT,Hex, M8 x 1.25 x 10mm, Cl 10.9, Full Thd

1шт.

4

10730301

WASHER,8.15mm ID x 17mm OD x 2mm Thk

1шт.

5

75253733

RIGID TUBE

1шт.

6

75252454

RIGID TUBE

1шт.

7

70921402

ELBOW

Incl. 8

4шт.

8

70921349

O-RING,0.087" Thk x 0.644" ID, -908, Cl 6, 90 Duro

2шт.

9

70630753

WASHER

4шт.

10

75253734

TUBE,9.7 mm ID, 12.7 mm OD, 805, 99 mm Length

1шт.

11

11701721

NUT,M10, Cl 10

2шт.

12

75248890

RIGID TUBE,9.7 mm ID, 12.7 mm OD, 2316 mm Length

1шт.

13

70915276

LUBE NIPPLE

1шт.

14

70928851

BEARING ASSY

1шт.

15

70689717

SPACER,39.62mm ID x 50.8mm OD x 11.94mm L

1шт.

16

70911279

COTTER PIN

2шт.

17

70689718

PIN,38.07mm OD x 125.73mm L

2шт.

18

REF

INSTRUCTION

Cylinder, See Figure 08.61

1шт.

19

75251172

FLEXIBLE HOSE

2шт.

20

70922457

HYD CONNECTOR

2шт.

21

70921349

O-RING,0.087" Thk x 0.644" ID, -908, Cl 6, 90 Duro

2шт.

22

REF

INSTRUCTION

Valve, See Figure 08.68A

1шт.

23

75248886

RIGID TUBE,9.7 mm ID, 12.7 mm OD, 2301 mm Length

1шт.

24

70927163

HYD CONNECTOR

2шт.

25

16044331

SCREW,Hex, M8 x 1.25 x 55mm, Cl 10.9

2шт.

26

70677006

WASHER,10.31mm ID x 22.23mm OD x 4.76mm Thk

4шт.

27

70921076

SCREW,3/8"-16 x 1 1/4"

2шт.

28

70623355

COLLAR

2шт.

29

75253438

RIGID TUBE

1шт.

30

75253437

RIGID TUBE

1шт.

31

73127629

CLAMP

2шт.

32

70921402

ELBOW

2шт.

33

11107331

SCREW,Hex, M10 x 55mm, Cl 10.9

2шт.

Выбрано товаров: 33