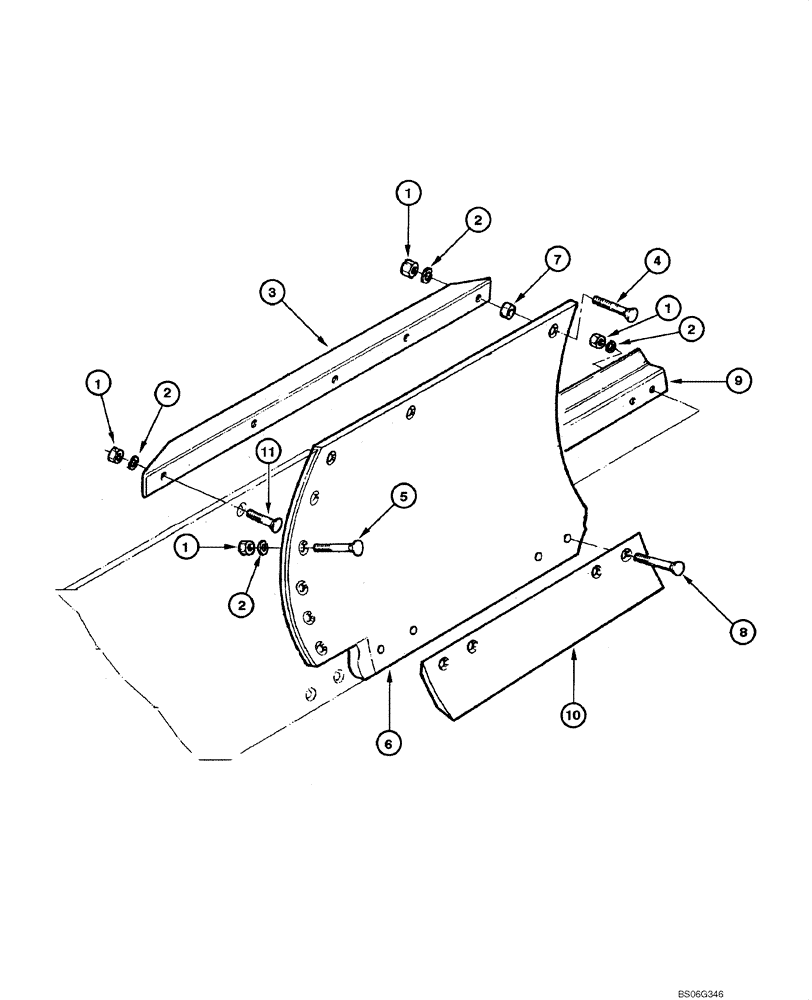
Запчасти Case 865 (09.13[00]) - MOLDBOARD EXTENSION RH - ASSEMBLY (OPTIONAL) (09) - CHASSIS

Схема запчастей Case 865 - (09.13[00]) - MOLDBOARD EXTENSION RH - ASSEMBLY (OPTIONAL) (09) - CHASSIS
8
2
6
2
7
1
2
1
11
3
2
4
1
10
1
5
9
FIT
1:1
100%

Артикул

Название

Примечание

Количество

1

70911029

NUT

17шт.

2

70912942

LOCK WASHER

17шт.

3

75266888

SUPPORT

Bracket

1шт.

4

70932589

SCREW

4шт.

5

70931930

BOLT

5шт.

6

75267140

BLADE

Extension RH

1шт.

7

70602449

SPACER

4шт.

8

70932590

BOLT,5/8" - 11 x 3"

7шт.

9

75267472

GUIDE

Guide

1шт.

10

75266875

BLADE

Cutting Edge

1шт.

11

70921597

SCREW

1шт.

Выбрано товаров: 11