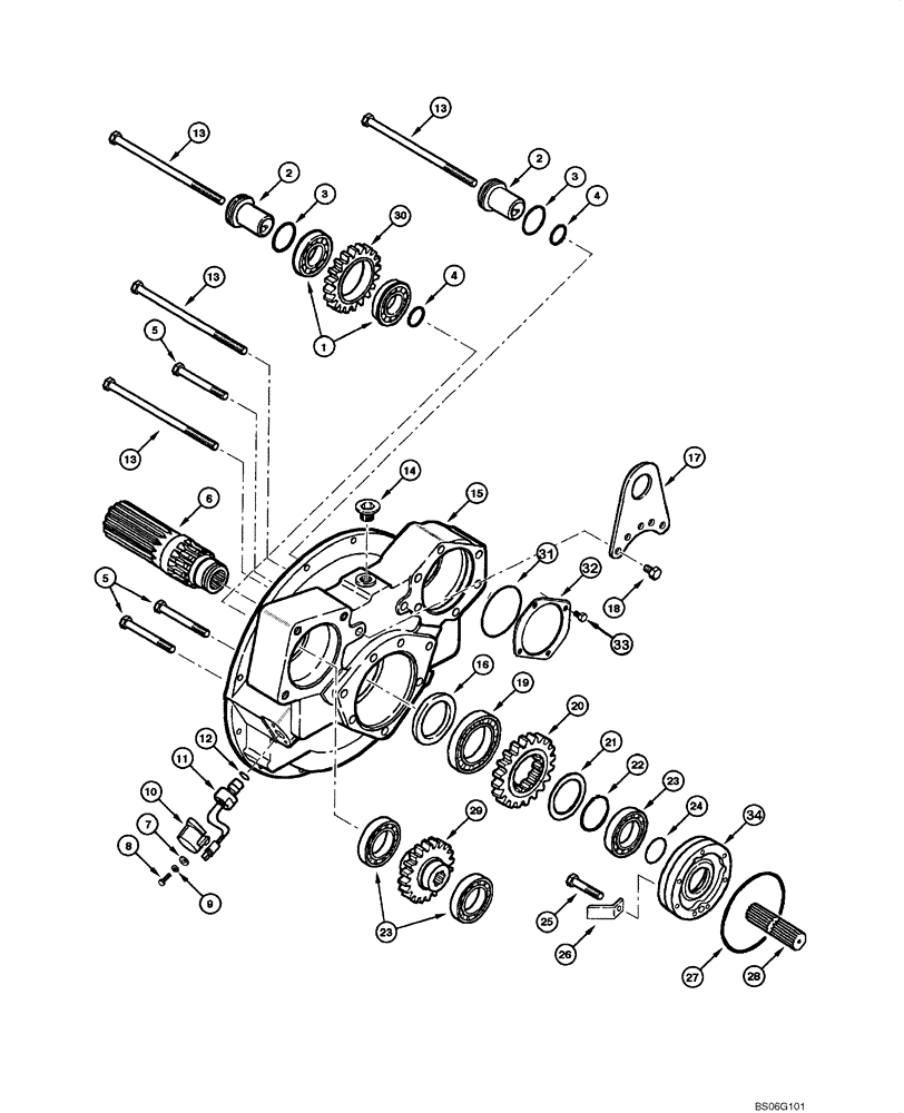
Запчасти Case 865 (06.07[00]) - TRANSMISSION - HOUSING AND INPUT SHAFT (06) - POWER TRAIN

Схема запчастей Case 865 - (06.07[00]) - TRANSMISSION - HOUSING AND INPUT SHAFT (06) - POWER TRAIN
3
24
23
13
13
7
26
25
2
16
11
4
1
27
21
8
31
10
2
28
14
17
20
12
5
32
34
22
9
33
4
19
15
6
23
13
5
13
3
29
30
18
FIT
1:1
100%

Артикул

Название

Примечание

Количество

1

75312842

BEARING,40mm ID x 80mm OD x 18mm W

2шт.

2

75289379

SHAFT

2шт.

3

75288494

O-RING

2шт.

4

75288493

O-RING

2шт.

5

75312845

SCREW

3шт.

6

75289383

SHAFT

1шт.

7

75289387

WASHER

2шт.

8

75312825

BOLT

2шт.

9

75289386

WASHER

2шт.

10

75288496

COVER

1шт.

11

75289384

SENSOR

1шт.

12

75288425

O-RING

1шт.

13

75312844

SCREW

4шт.

14

75289388

PLUG

1шт.

15

75289378

CASE

1шт.

16

75287702

RUBBER SEAL

1шт.

17

75289392

HANDLE

1шт.

18

75312846

SCREW

2шт.

19

75288479

BEARING ASSY

1шт.

20

75289382

GEAR

1шт.

21

75288476

RING

1шт.

22

75288477

SNAP RING

1шт.

23

75288480

BALL BEARING

3шт.

24

75288424

SEAL

1шт.

25

75289391

SCREW

7шт.

26

75289395

DEFLECTOR

1шт.

27

75287701

O-RING,0.139" Thk x 5.984" ID, -258, Cl 5, 75 Duro

1шт.

28

75289394

SHAFT

1шт.

29

75289380

GEAR

1шт.

30

75289381

GEAR

2шт.

31

75288503

O-RING

1шт.

32

75289377

COVER

1шт.

33

75312855

SCREW

4шт.

34

75288484

SUPPORT

Bracket

1шт.

Выбрано товаров: 34