Запчасти Case 865 AWD (06-04[01]) - TRANSMISSION - SHIFT LEVER (06) - POWER TRAIN

Схема запчастей Case 865 AWD - (06-04[01]) - TRANSMISSION - SHIFT LEVER (06) - POWER TRAIN
7
25
11
22
23
14
2
12
24
3
18
15
8
17
9
4
16
20
10
19
5
21
1
13
6
FIT
1:1
100%

Артикул

Название

Примечание

Количество

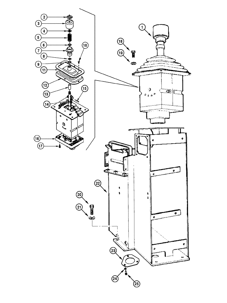
1

73162490

LEVER

Assy, Includes items 2 - 17

1шт.

1

73162490R

REMAN ELECT CONTROL

865 AWD MOTOR GRADER TIER 3 (NA), Assy (1/08-)

1шт.

1

73162490C

CORE-ELECTRONIC CONT

Return Number

1шт.

2

71101056

DECAL

1шт.

3

71101055

HANDLE GRIP

1шт.

4

75313238

RING

1шт.

5

75313239

SPRING

1шт.

6

71101746

WASHER

1шт.

7

71101744

LOCK

control

1шт.

8

71101745

WASHER

1шт.

9

71101746

WASHER

1шт.

10

71101742

SCREW

4шт.

11

71101743

BEZEL

1шт.

12

71101747

BOOT

1шт.

13

71101748

SLEEVE

1шт.

14

71101749

O-RING

1шт.

15

71101750

PIN

1шт.

16

75310459

COVER PLATE

1шт.

17

NSS

NOT SOLD SEPARAT

BOLT

4шт.

18

10979421

SCREW,Hex, M6 x 10mm, Cl 8.8

4шт.

19

14496321

WASHER

4шт.

20

11113231

BOLT,Hex, M12 x 50mm, Cl 10.9

4шт.

21

14496731

WASHER,M12 x 24 x 2.5 Thk

4шт.

22

75327034

CONSOLE

1шт.

23

87738702

PLATE

1шт.

24

864-5016

HEX SOC SCREW,M5 x 16mm, Cl 8.8

3шт.

25

11195471

LOCK WASHER

3шт.

Выбрано товаров: 0