Запчасти Case 865 DHP (9-020) - BLADE ASSEMBLY (13 FEET) (09) - CHASSIS

Схема запчастей Case 865 DHP - (9-020) - BLADE ASSEMBLY (13 FEET) (09) - CHASSIS
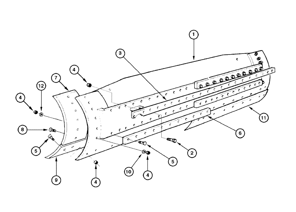
12
8
2
4
4
9
11
5
3
4
7
5
4
6
1
10
FIT
1:1
100%

Артикул

Название

Примечание

Количество

75250344

BLADE

MOLDBOARD 13ft, Includes: Ref. 1 - 12

1шт.

1

75250345

MOLDBOARD

MOLDBOARD 13ft

1шт.

2

70921174

SCREW

BOLT

22шт.

3

75251355

BAR

upper

1шт.

4

70911029

NUT

73шт.

5

70617127

PLOW BOLT,5/8" - 11 x 2 1/4"

BOLT

39шт.

6

75239609

BAR

lower

2шт.

7

75241478

CUTTING EDGE

BIT end

2шт.

8

70931930

BOLT

BOLT

12шт.

9

75239491

CUTTING EDGE

1шт.

10

70912942

LOCK WASHER

12шт.

11

75239489

CUTTING EDGE

1шт.

12

70927381

WASHER,0.66" ID x 1.12" OD x 0.1" Thk

22шт.

Выбрано товаров: 13