Качественные детали и логистика
Оригинальные и аналоговые запчасти с доставкой по России, Казахстану и Беларуси
©2022 PartSell ООО "Система" ИНН 2463123282 ОГРН 1212400004838
Центральный офис: г. Красноярск, Академика Киренского, д.87, пом.4
Телефон: 8 (800) 777-65-74 Email: zakaz@partsell.ru
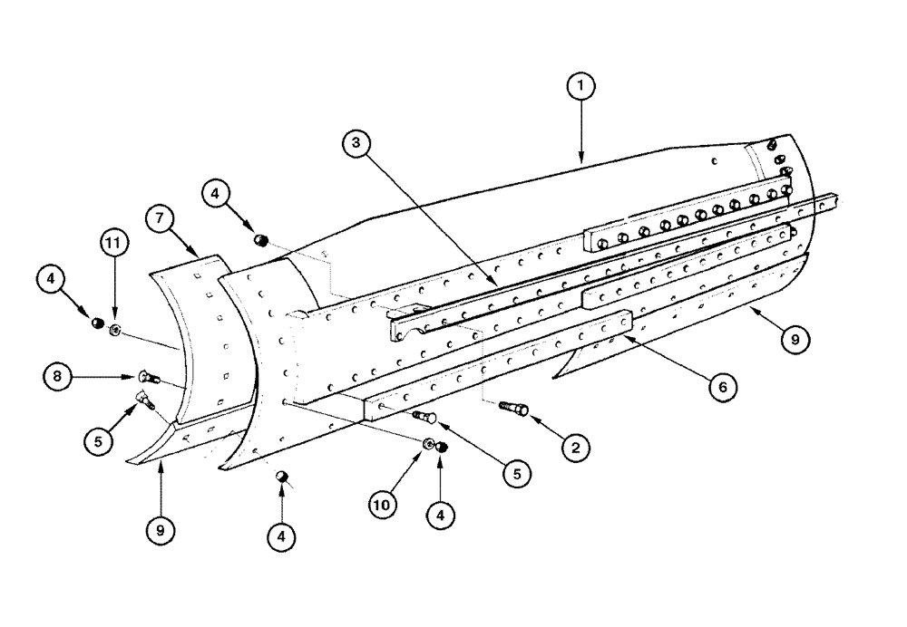
(9-022) - BLADE ASSEMBLY (14 FEET)
№
Артикул
Название
Примечание
Количество
75250199
BLADE
MOLDBOARD 14ft, Includes: Ref. 1 - 11
1шт.
1
75250011
MOLDBOARD
MOLDBOARD 14ft
2
70921174
SCREW
BOLT
22шт.
3
75251355
BAR
upper
4
70911029
NUT
74шт.
5
70617127
PLOW BOLT,5/8" - 11 x 2 1/4"
40шт.
6
75239609
lower
2шт.
7
75241478
CUTTING EDGE
BIT end
8
70931930
12шт.
9
75239491
10
70912942
LOCK WASHER
11
70927381
WASHER,0.66" ID x 1.12" OD x 0.1" Thk
Выбрано товаров: 0