Запчасти Case 865 DHP (9-024) - MOLDBOARD EXTENSION R.H. - ASSEMBLY (OPTIONAL) (09) - CHASSIS

Схема запчастей Case 865 DHP - (9-024) - MOLDBOARD EXTENSION R.H. - ASSEMBLY (OPTIONAL) (09) - CHASSIS
7
1
1
3
11
1
4
10
2
5
2
1
8
9
2
6
2
FIT
1:1
100%

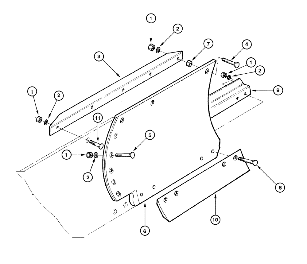
Артикул

Название

Примечание

Количество

1

70911029

NUT

17шт.

2

70912942

LOCK WASHER

17шт.

3

70603157

SUPPORT

BRACKET

1шт.

4

70932589

SCREW

BOLT

4шт.

5

70931930

BOLT

BOLT

5шт.

6

75257672

MOLDBOARD

EXTENSION, R.H.

1шт.

7

70602449

SPACER

4шт.

8

70932590

BOLT,5/8" - 11 x 3"

7шт.

9

70633981

BAR

GUIDE

1шт.

10

70099350

CUTTING EDGE

1шт.

11

70921597

SCREW

BOLT

1шт.

Выбрано товаров: 11