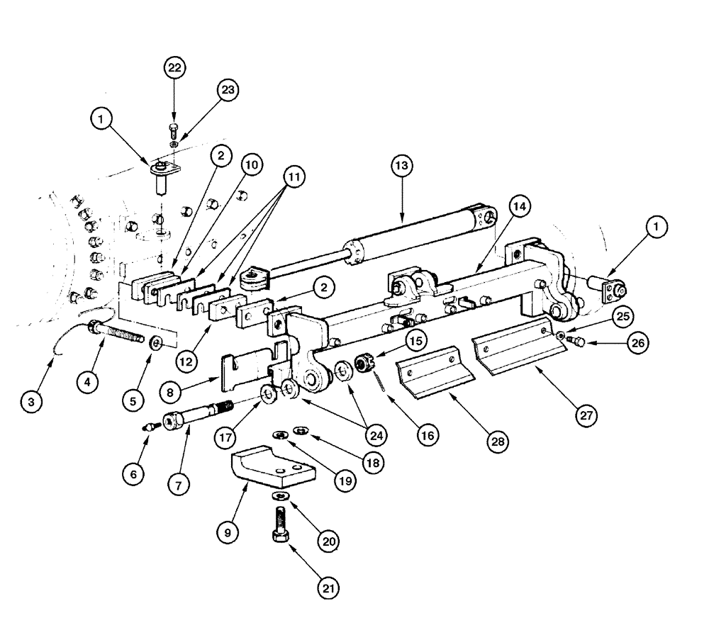
Запчасти Case 865 DHP (9-028) - BLADE - MECHANISM (09) - CHASSIS

Схема запчастей Case 865 DHP - (9-028) - BLADE - MECHANISM (09) - CHASSIS
15
4
25
3
6
13
27
10
21
18
26
8
12
16
7
1
14
1
20
11
9
22
28
2
5
17
2
19
23
24
FIT
1:1
100%

Артикул

Название

Примечание

Количество

1

75252844

DOWEL

PIN

2шт.

2

75248810

SPACER

6шт.

3

75241062

WIRE

steel

3шт.

4

75250078

BOLT,Hex, M24 x 2 x 90mm, Cl 10.9

BOLT

6шт.

5

14497331

WASHER,25mm ID x 44mm OD x 4mm Thk

M24 x 44 x 4

6шт.

6

70914465

LUBE NIPPLE

FITTING grease

2шт.

7

75322606

BOLT,Hex, 1-3/4" - 12 x 7-1/2"

BOLT

2шт.

8

75248807

PLATE

2шт.

9

75243732

SUPPORT

BRACKET

2шт.

10

75248811

SPACER

3шт.

11

75248809

SHIM,51.5mm OD x 0.8mm Thk

21шт.

12

75248808

SPACER

3шт.

13

REF

INSTRUCTION

CYLINDER blade shift (Figure 8-110)

1шт.

14

75250080

SUPPORT

BRACKET

1шт.

15

70060670

NUT

2шт.

16

70901348

COTTER PIN

2шт.

17

70634237

WASHER,52.39mm ID x 82.55mm OD x 1.19mm Thk

1шт.

18

70915978

WASHER,1.03" ID x 1.62" OD x 0.03" Thk

20шт.

19

70928189

WASHER,1.06" ID x 1.75" OD x 0.09" Thk

4шт.

20

70928452

WASHER

4шт.

21

15997331

BOLT,Hex, M24 x 2 x 70mm, Cl 10.9, Full Thd

2шт.

22

11106121

BOLT,Hex, M10 x 1.5 x 22mm, Cl 8.8, Full Thd

4шт.

23

10516871

LOCK WASHER,10.2mm ID x 17.7mm OD x 2.5mm Thk

lock

4шт.

24

8288832

O-RING

SEAL

4шт.

25

12648521

WASHER,12.2mm ID x 28mm OD x 4mm Thk

6шт.

26

11112131

SCREW,Hex, M12 x 20mm, Cl 10.9, Full Thd

6шт.

27

75322635

PLATE

2шт.

28

75321980

PLATE

1шт.

Выбрано товаров: 28