Запчасти Case 865 DHP (9-084) - CAB - ROOF (OPEN CAB) (09) - CHASSIS

Схема запчастей Case 865 DHP - (9-084) - CAB - ROOF (OPEN CAB) (09) - CHASSIS
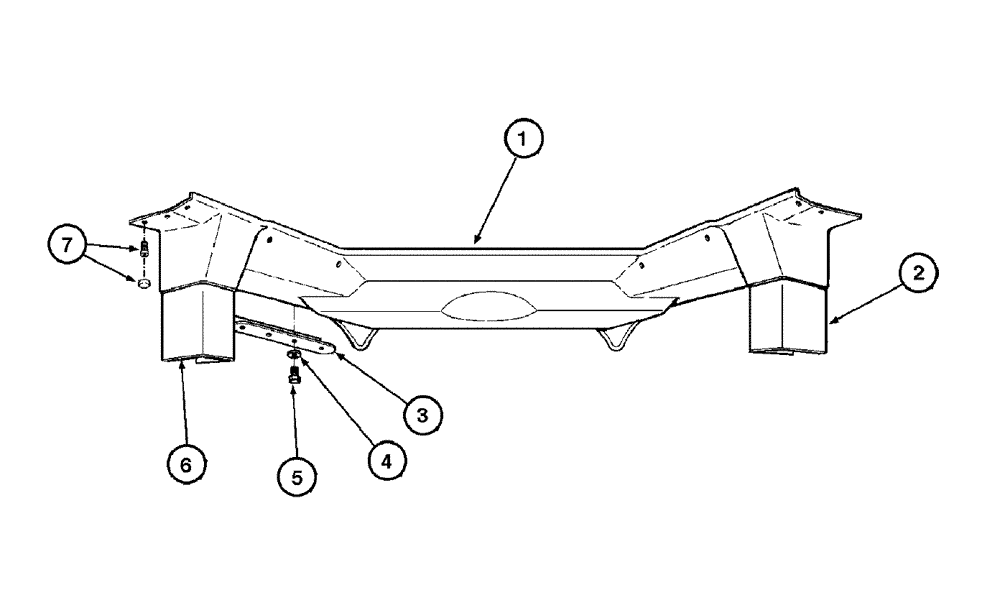
3
1
5
7
4
2
6
FIT
1:1
100%

Артикул

Название

Примечание

Количество

1

75313821

COVER

1шт.

2

75313817

COVER

R.H.

1шт.

3

75310385

PLATE

L.H.

1шт.

3

75310388

PLATE

R.H.

2шт.

4

75287700

WASHER

8шт.

5

75310286

SCREW,M6 x 1

BOLT

8шт.

6

75313816

COVER

L.H.

1шт.

7

75313814

BOLT

BUTTON

10шт.

Выбрано товаров: 8