Запчасти Case 865 VHP (09.23[00]) - CONSOLE COVERS (09) - CHASSIS

Схема запчастей Case 865 VHP - (09.23[00]) - CONSOLE COVERS (09) - CHASSIS
12
13
1
10
6
5
14
9
6
2
4
7
8
11
3
7
FIT
1:1
100%

Артикул

Название

Примечание

Количество

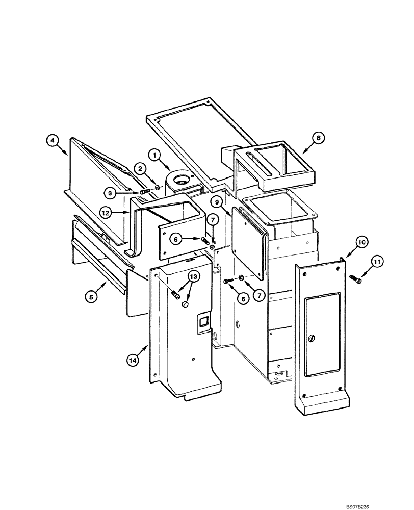
1

75320710

HOLDER

1шт.

2

12639701

WASHER,6.15mm ID x 11mm OD x 1mm Thk

2шт.

3

10902131

SCREW,Hex, M6 x 14mm, Cl 10.9, Full Thd

2шт.

4

75313341

TRIM PANEL

1шт.

5

87362127

SUPPORT

1шт.

6

10902131

SCREW,Hex, M6 x 14mm, Cl 10.9, Full Thd

10шт.

7

85801991

WASHER,6.3mm OD x 18mm ID x 4mm Thk

10шт.

8

75313340

TRIM PANEL

1шт.

9

75321942

COVER

1шт.

10

75313342

TRIM PANEL

1шт.

11

13276617

SCREW,Pozidriv Pan Hd, M6 x 25mm, Cl 5.8, Full Thd

4шт.

12

75313343

TRIM PANEL

1шт.

13

75313814

BOLT

4шт.

14

REF

INSTRUCTION

See Figure 09.35

1шт.

Выбрано товаров: 14