Запчасти Case 885 (09.09[00]) - BLADE - ASSEMBLY (13 FEET) (09) - CHASSIS

Схема запчастей Case 885 - (09.09[00]) - BLADE - ASSEMBLY (13 FEET) (09) - CHASSIS
1
5
2
10
4
4
8
9
7
12
4
5
11
4
3
6
FIT
1:1
100%

Артикул

Название

Примечание

Количество

75250344

BLADE

13ft Conj.

1шт.

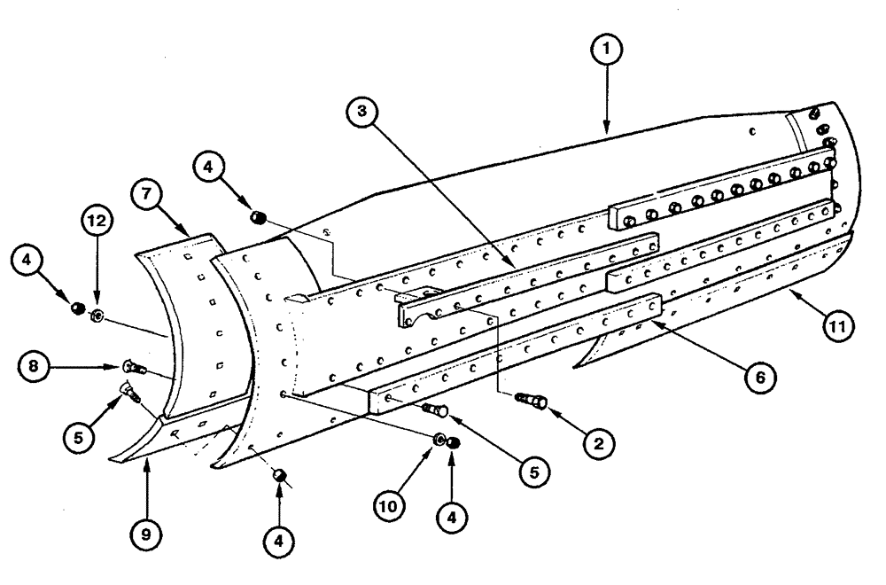
1

75250345

MOLDBOARD

1шт.

2

70921174

SCREW

22шт.

3

75251355

BAR

Upper

1шт.

4

70911029

NUT

73шт.

5

70617127

PLOW BOLT,5/8" - 11 x 2 1/4"

39шт.

6

75239609

BAR

Lower

2шт.

7

75241478

CUTTING EDGE

Side

2шт.

8

70931930

BOLT

12шт.

9

75239491

CUTTING EDGE

Center

1шт.

10

70912942

LOCK WASHER

12шт.

11

75239489

CUTTING EDGE

Center

1шт.

12

70927381

WASHER,0.66" ID x 1.12" OD x 0.1" Thk

22шт.

Выбрано товаров: 13