Качественные детали и логистика
Оригинальные и аналоговые запчасти с доставкой по России, Казахстану и Беларуси
©2022 PartSell ООО "Система" ИНН 2463123282 ОГРН 1212400004838
Центральный офис: г. Красноярск, Академика Киренского, д.87, пом.4
Телефон: 8 (800) 777-65-74 Email: zakaz@partsell.ru
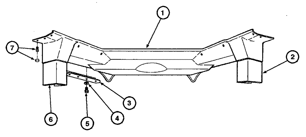
(09.36[00]) - CAB - ROOF (OPEN CAB)
№
Артикул
Название
Примечание
Количество
1
75313821
COVER
1шт.
2
75313817
RH
3
75310388
PLATE
75310385
LH
4
75287700
WASHER
8шт.
5
75310286
SCREW,M6 x 1
6
75313816
7
75313814
BOLT
10шт.
Выбрано товаров: 0