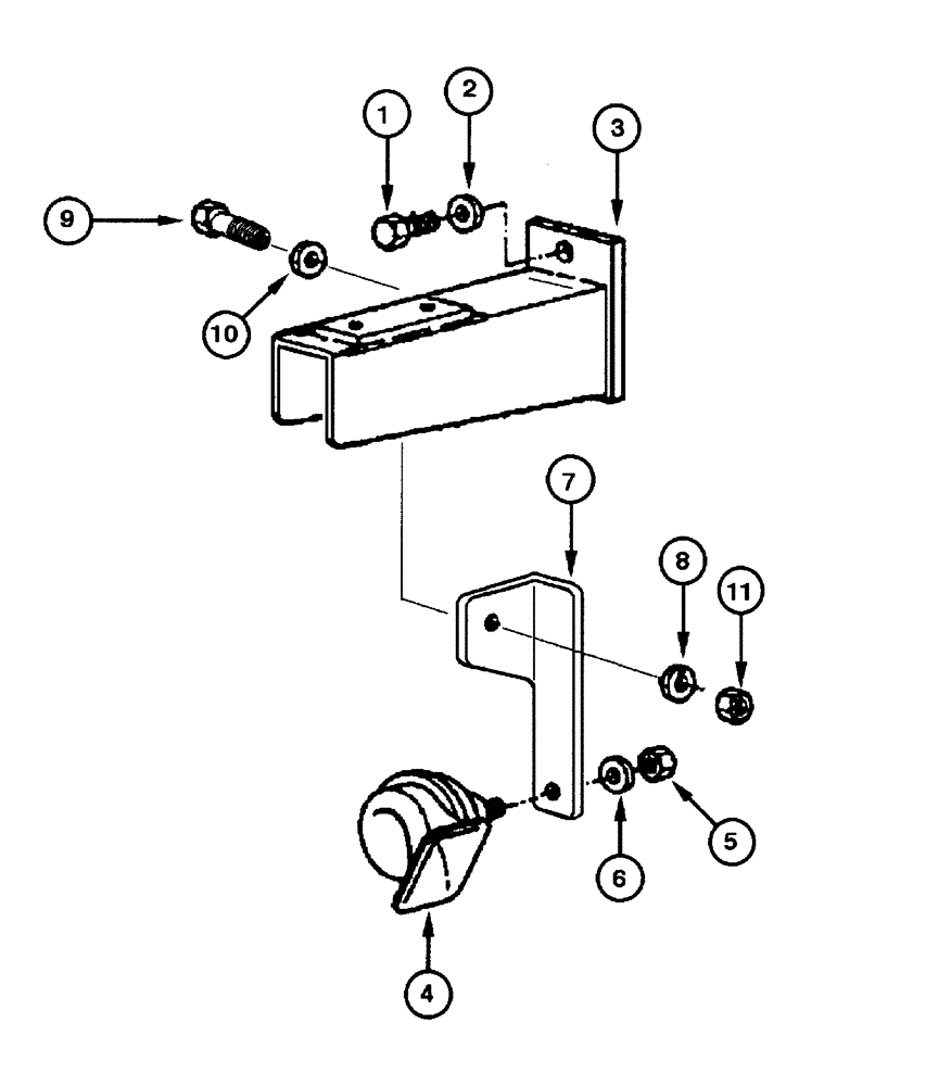
Запчасти Case 885 (04.14[00]) - ELECTRIC SYSTEM - HORN (04) - ELECTRICAL SYSTEMS

Схема запчастей Case 885 - (04.14[00]) - ELECTRIC SYSTEM - HORN (04) - ELECTRICAL SYSTEMS
6
1
11
9
2
3
5
8
7
10
4
FIT
1:1
100%

Артикул

Название

Примечание

Количество

1

11106031

BOLT,Hex, M10 x 1.5 x 20mm, Cl 10.9

2шт.

2

12638601

WASHER,M10 x 18 x 2

2шт.

3

75251148

SUPPORT

2шт.

4

79114714

HORN

1шт.

5

16100833

NUT,M8, Cl 12

1шт.

6

10615679

LOCK WASHER,Ext Tooth, M8

1шт.

7

75320117

BRACKET

1шт.

8

10516613

WASHER

1шт.

9

16043431

SCREW,Hex, M8 x 1.25 x 20mm, Cl 10.9, Full Thd

1шт.

10

12638501

WASHER,8.15mm ID x 15mm OD x 1.5mm Thk

1шт.

11

14094910

NUT,Weld, M8

1шт.

Выбрано товаров: 11