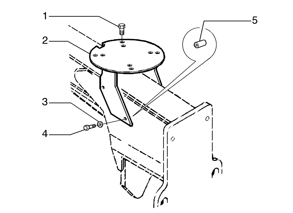
Запчасти Case 885 (06-72[01]) - SPARE TIRE SUPPORT (06) - POWER TRAIN

Схема запчастей Case 885 - (06-72[01]) - SPARE TIRE SUPPORT (06) - POWER TRAIN
2
3
1
5
4
FIT
1:1
100%

Артикул

Название

Примечание

Количество

1

514-1315

BOLT,Hex, M22 x 1.5 x 50mm, Cl 10.9

4шт.

2

87480821

SUPPORT

1шт.

3

14496931

WASHER,17mm ID x 30mm OD x 3mm Thk

6шт.

4

14257930

LOCK BOLT,Hex, M16 x 1.5 x 40mm, Cl 10.9

6шт.

5

75254258

BLOCK

6шт.

Выбрано товаров: 5