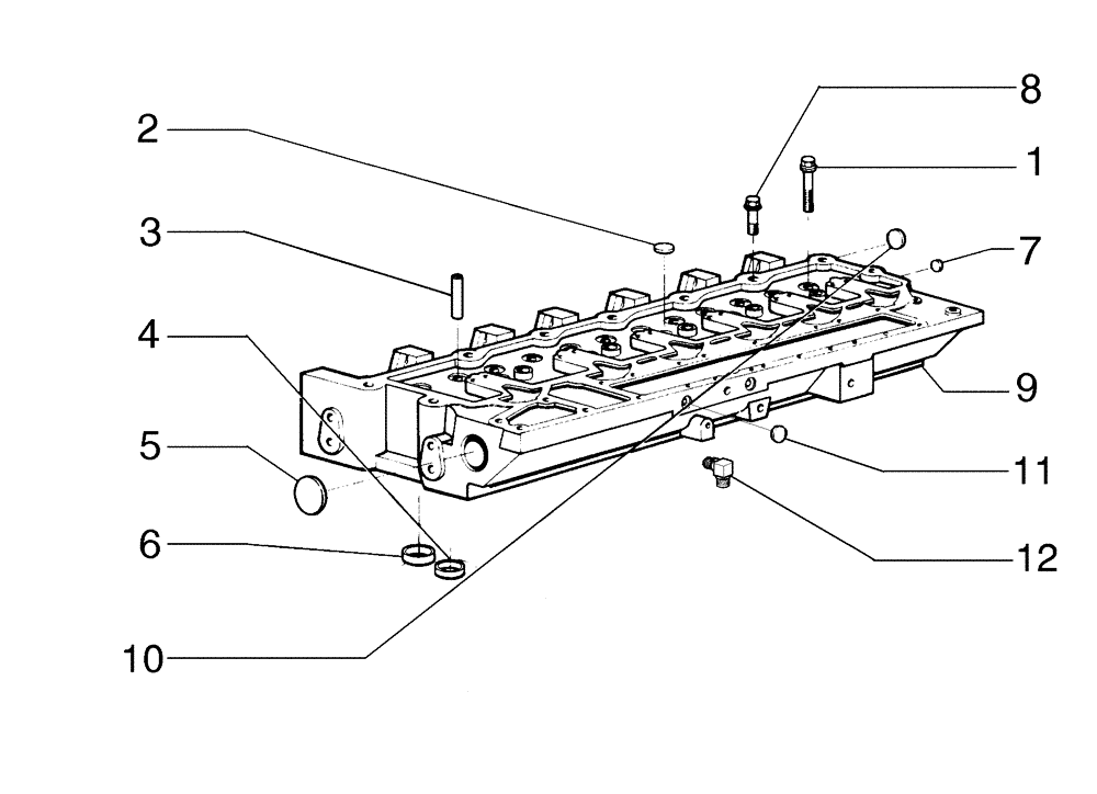
Запчасти Case 885 (02-34[02]) - PLUGS AND PINS ENGINE HEAD (02) - ENGINE

Схема запчастей Case 885 - (02-34[02]) - PLUGS AND PINS ENGINE HEAD (02) - ENGINE
1
12
2
9
3
7
6
4
8
5
11
10
FIT
1:1
100%

Артикул

Название

Примечание

Количество

1

75286698

SCREW

14шт.

2

75287924

PLUG

5шт.

3

75208214

GUIDE

12шт.

4

75208215

SEAT/SLOT

6шт.

5

75208216

PLUG

2шт.

6

75208217

SEAT/SLOT

6шт.

7

75286706

PLUG

1шт.

8

75286699

BOLT,Hex, 100mm

12шт.

9

71100813

CYLINDER HEAD

1шт.

10

75288671

PLUG

1шт.

11

75286707

PLUG

1шт.

12

75312136

ELBOW

1шт.

Выбрано товаров: 12