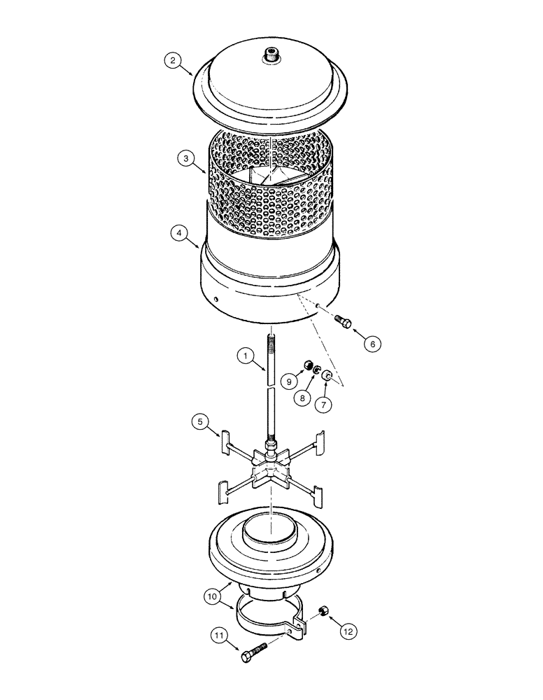
Запчасти Case 885 (02-18[01]) - AIR PRE-CLEANER - ASSEMBLY (02) - ENGINE

Схема запчастей Case 885 - (02-18[01]) - AIR PRE-CLEANER - ASSEMBLY (02) - ENGINE
4
12
5
2
10
11
3
9
6
1
8
7
FIT
1:1
100%

Артикул

Название

Примечание

Количество

75261234

FILTER ASSY

Includes items 1 - 12

1шт.

1

75288395

SHAFT

1шт.

2

75288396

COVER

1шт.

3

75288397

GUARD

1шт.

4

75288398

CASE

1шт.

5

75288399

IMPELLER

1шт.

6

75288403

SCREW

4шт.

7

75288402

SPACER

4шт.

8

75288401

WASHER

4шт.

9

75288400

NUT

4шт.

10

75261235

BASE

Assy

1шт.

11

75288407

SCREW

1шт.

12

75288406

SCREW

1шт.

Выбрано товаров: 13