Запчасти Case 885B (06-01[11A]) - TRANSMISSION, PTO - (TORQUE CONVERTER) (06) - POWER TRAIN

Схема запчастей Case 885B - (06-01[11A]) - TRANSMISSION, PTO - (TORQUE CONVERTER) (06) - POWER TRAIN
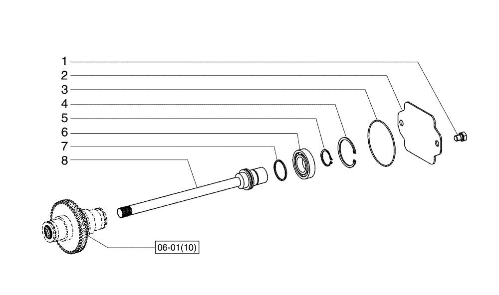
4
2
06-01(10)
06-02
1
3
8
7
5
6
FIT
1:1
100%

Артикул

Название

Примечание

Количество

1

8603294

SCREW,Hex, M12 x 18mm

4шт.

2

8603526

COVER

1шт.

3

8603527

O-RING

1шт.

4

8603354

CIRCLIP

1шт.

5

933946R1

RING, SNAP

RING SNAP 2.5mm

1шт.

5

8900125285

LOCK WASHER

2.45mm

1шт.

5

8900125286

LOCK WASHER

2.4mm

1шт.

5

8900125287

SNAP RING

2.35mm

1шт.

5

8900125288

SNAP RING

2.3mm

1шт.

5

8900125289

SNAP RING

2.25mm

1шт.

5

8900125290

SNAP RING

2.2mm

1шт.

6

8900125282

BALL BEARING

1шт.

7

8603302

PISTON RING

1шт.

8

8900125280

SHAFT

1шт.

Выбрано товаров: 14