Качественные детали и логистика
Оригинальные и аналоговые запчасти с доставкой по России, Казахстану и Беларуси
©2022 PartSell ООО "Система" ИНН 2463123282 ОГРН 1212400004838
Центральный офис: г. Красноярск, Академика Киренского, д.87, пом.4
Телефон: 8 (800) 777-65-74 Email: zakaz@partsell.ru
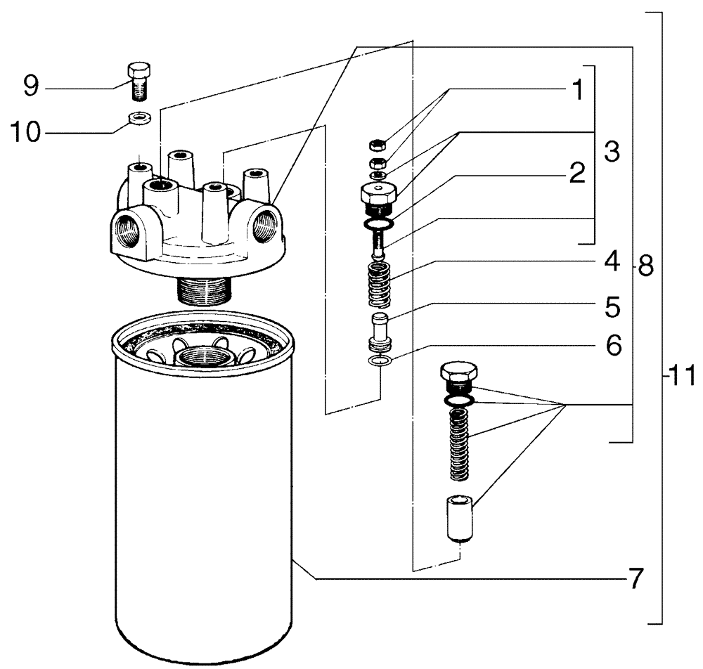
(06-03[19]) - TRANSMISSION OIL FILTER
№
Артикул
Название
Примечание
Количество
73161226
FILTER
1шт.
1
75285548
NUT
2шт.
2
70935176
O-RING,0.087" Thk x 0.644" ID, -908, Cl 8, 90 Duro
3
75285549
HYDRAULIC VALVE
4
75285550
SPRING
5
75285551
PISTON
6
70923548
O-RING,-111, 70 Duro, .424" ID x .103" Thk
7
73162722
HYDRAULIC OIL FILTER
8
75289106
COVER
9
70926149
SCREW
4шт.
10
76022735
WASHER
11
Выбрано товаров: 0