Запчасти Case 885B (09-18[01]) - MOLDBOARD LEFT AND RIGHT EXTENSION (09) - CHASSIS/ATTACHMENTS

Схема запчастей Case 885B - (09-18[01]) - MOLDBOARD LEFT AND RIGHT EXTENSION (09) - CHASSIS/ATTACHMENTS
8
1
7
2
2
1
10
5
4
6
3
9
2
1
11
FIT
1:1
100%

Артикул

Название

Примечание

Количество

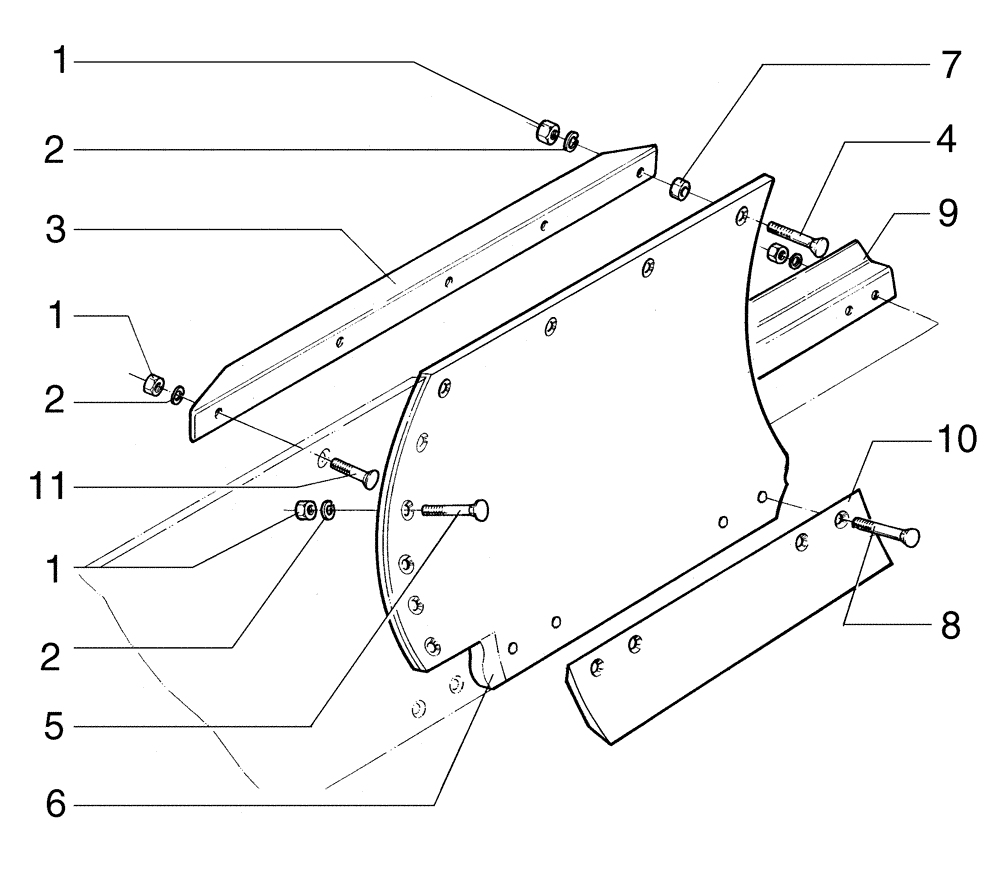
1

70911029

NUT

17шт.

2

70912942

LOCK WASHER

17шт.

3

87374710

SUPPORT

RH

1шт.

3

75266892

SUPPORT

LH

1шт.

4

70932589

SCREW

4шт.

5

70931930

BOLT

5шт.

6

75267137

EXTENSION

RH

1шт.

6

75267142

EXTENSION

LH

1шт.

7

70602449

SPACER

4шт.

8

70932590

BOLT,5/8" - 11 x 3"

7шт.

9

75267477

PAD

RH

1шт.

9

75267474

PAD

LH

1шт.

10

87375065

KNIFE

1шт.

11

70921597

SCREW

1шт.

Выбрано товаров: 14