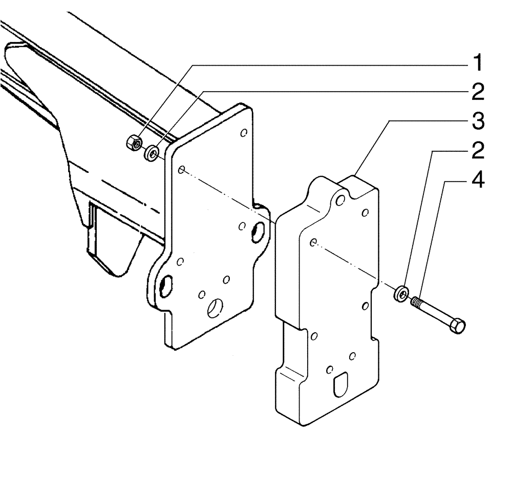
Запчасти Case 885B (09-26[01]) - FRONT COUNTERWEIGHT (09) - CHASSIS/ATTACHMENTS

Схема запчастей Case 885B - (09-26[01]) - FRONT COUNTERWEIGHT (09) - CHASSIS/ATTACHMENTS
1
2
2
3
4
FIT
1:1
100%

Артикул

Название

Примечание

Количество

1

70927619

NUT

6шт.

2

70929276

WASHER,1.31" ID x 2.25" OD x 0.25" Thk

12шт.

3

75267084

COUNTERWEIGHT

1шт.

4

70928400

BOLT

6шт.

Выбрано товаров: 4