Запчасти Case 885B (03-07[01]) - FUEL FILTER (03) - FUEL SYSTEM

Схема запчастей Case 885B - (03-07[01]) - FUEL FILTER (03) - FUEL SYSTEM
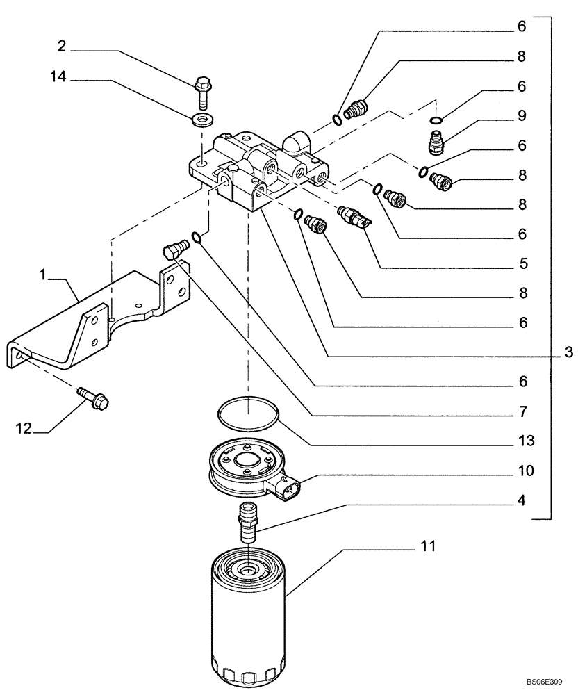
6
6
8
7
12
2
4
6
6
9
8
5
1
8
13
11
14
10
6
3
6
8
FIT
1:1
100%

Артикул

Название

Примечание

Количество

1

2852793

BRACKET

1шт.

2

2830733

SCREW

2шт.

3

2852436

FILTER HEAD

1шт.

4

4898758

ADAPTER

1шт.

5

4897224

SENSOR

1шт.

6

4894721

SEALING WASHER,12.2mm ID x 17mm OD x 1.5mm Thk

6шт.

7

4893464

PLUG

1шт.

8

4890964

FITTING,M12 x 1.5

4шт.

9

4896543

FITTING

1шт.

10

4897838

HEATER

1шт.

11

4897897

FUEL FILTER

1шт.

12

2852791

SCREW

4шт.

13

4898876

O-RING,63.1mm ID x 3.53mm Width

1шт.

14

12647104

WASHER,8.15mm ID x 20mm OD x 3mm Thk

2шт.

Выбрано товаров: 14