Запчасти Case 885B AWD (06-02[00]) - TRANSMISSION, SUPPORTS - (DIRECT DRIVE) (06) - POWER TRAIN

Схема запчастей Case 885B AWD - (06-02[00]) - TRANSMISSION, SUPPORTS - (DIRECT DRIVE) (06) - POWER TRAIN
3
5
4
4
1
8
7
12
13
6
9
5
1
3
11
6
2
9
10
10
4
7
8
4
FIT
1:1
100%

Артикул

Название

Примечание

Количество

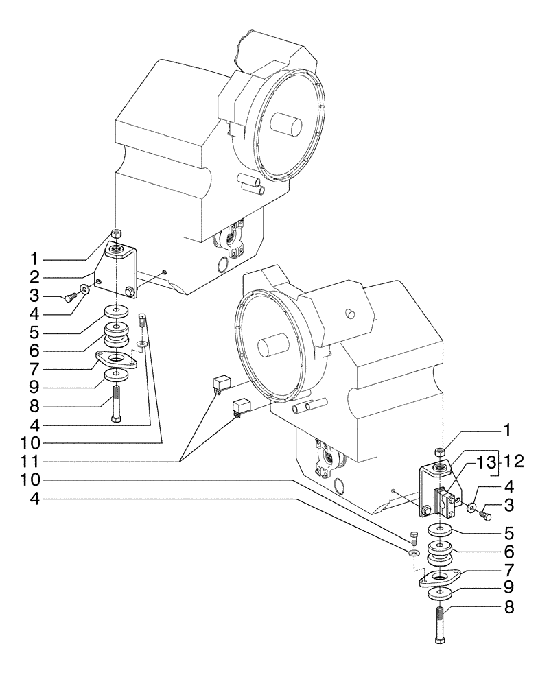
1

12164427

NUT,M22 x 1.5, Cl 10

LH

2шт.

2

75257766

BRACKET

1шт.

3

11118531

BOLT,Hex, M16 x 40, 10.9

4шт.

4

70927275

WASHER

LH

8шт.

5

73163954

WASHER,23mm ID x 89mm OD x 12.7mm Thk

2шт.

6

361187A1

ISOLATOR

2шт.

7

73163953

PLATE

2шт.

8

15994031

BOLT,Hex, M22 x 1.5 x 130mm, Cl 10.9

2шт.

9

73163534

WASHER,23.82mm ID x 88.9mm OD x 7.94mm Thk

2шт.

10

11390531

BOLT,Hex, M16 x 1.5 x 40, 10.9, Full Thd

LH

4шт.

11

75324136

COVER

2шт.

12

75257767

BRACKET

1шт.

13

75252041

CLAMP

1шт.

Выбрано товаров: 13