Запчасти Case 885B AWD (09-22[01]) - DOZER BLADE AND SKID PLATES (09) - CHASSIS/ATTACHMENTS

Схема запчастей Case 885B AWD - (09-22[01]) - DOZER BLADE AND SKID PLATES (09) - CHASSIS/ATTACHMENTS
08-16
7
13
3
9
14
1
5
8
12
3
11
6
10
5
4
15
2
4
09-23
FIT
1:1
100%

Артикул

Название

Примечание

Количество

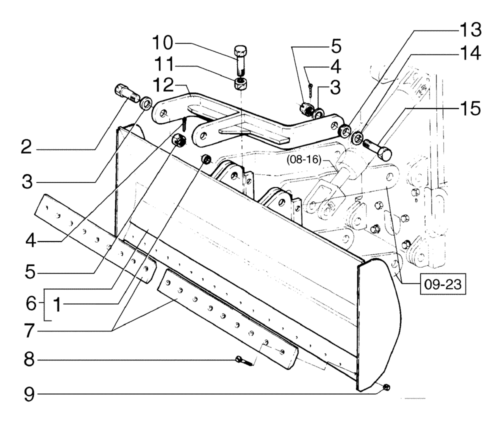
1

73126245

BUSHING,31.88mm ID x 41.05mm OD x 19.05mm L

20шт.

2

70082174

SCREW,Hex, 1-1/4" - 7 x 5.19"

2шт.

3

70912299

WASHER,1.31" ID x 2.5" OD x 0.16" Thk

10шт.

4

70901345

COTTER PIN,1/4" x 2 1/2"

6шт.

5

70911061

SLOTTED NUT

6шт.

6

75266934

BLADE

1шт.

7

75266941

CUTTING EDGE

2шт.

8

73132919

PLOW BOLT

18шт.

9

86015195

NUT,M20 x 1.5, Cl 10

18шт.

10

70933227

SCREW

2шт.

11

70917793

NUT

2шт.

12

75266951

ARM

2шт.

13

70601966

SPACER,31.77mm ID x 57.15mm OD x 19.84mm L

2шт.

14

70054889

WASHER,33.34mm ID x 76.2mm OD x 6.35mm Thk

2шт.

15

70683837

BOLT,Hex, 1-1/4" - 7 x 4.22"

4шт.

Выбрано товаров: 15