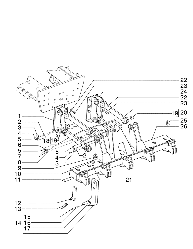
Запчасти Case 885B AWD (09-24[03]) - RIPPER TOOL BAR AND LINKAGE (09) - CHASSIS/ATTACHMENTS

Схема запчастей Case 885B AWD - (09-24[03]) - RIPPER TOOL BAR AND LINKAGE (09) - CHASSIS/ATTACHMENTS
19
9
18
2
23
21
22
6
26
22
3
3
4
5
15
19
13
16
5
20
24
25
8
20
10
5
12
2
1
4
17
7
14
23
11
FIT
1:1
100%

Артикул

Название

Примечание

Количество

1

84176502

BRACKET

1шт.

2

84176511

PIN,49.98mm OD x 183mm L

8шт.

3

84181618

BASE PLATE

8шт.

4

15540431

SCREW,Hex, M12 x 1.25 x 30mm, Cl 10.9, Full Thd

16шт.

5

219-1

LUBE NIPPLE,1/8" - 27 NPTF

9шт.

6

76002504

PIN,60mm OD x 170mm L

1шт.

7

14254231

LOCK BOLT,Hex, M14 x 1.5 x 25mm, Cl 10.9, Full Thd

2шт.

8

8270126

PLATE

1шт.

9

11113631

SCREW,Hex, M12 x 70mm, Cl 10.9

3шт.

10

75216511

SPACER

3шт.

11

75216513

PIN

3шт.

12

75267178

ROD

5шт.

13

75267184

SHANK

5шт.

14

84480696

SHANK RIPPER TOOTH

POINT RIPPER SHANK

3шт.

15

75212203

PIN,12.7mm OD x 95mm L

3шт.

16

75325762

SLEEVE

3шт.

17

84480707

RIPPER TOOTH

3шт.

18

75266995

FRAME

1шт.

19

75216487

BUSHING,50.2mm ID x 60.1mm OD x 43mm L

16шт.

20

75266987

ARM

2шт.

21

10719321

NUT,M12 x 1.75, Cl 10

3шт.

22

70928370

WASHER,1.06" ID x 2.25" OD x 0.25" Thk

12шт.

23

15997231

BOLT,Hex, M24 x 2 x 65mm, Cl 10.9, Full Thd

12шт.

24

84176497

SUPPORT

1шт.

25

73125907

KEY

9шт.

26

84181615

RIPPER

1шт.

27

15861731

BOLT,Hex, M24 x 2 x 130mm, Cl 10.9

4шт.

28

10517679

LOCK WASHER,24.3mm ID x 38.3mm OD x 5.5mm Thk

4шт.

29

75266731

COVER

2шт.

Выбрано товаров: 29