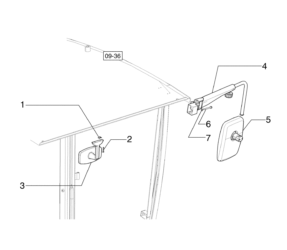
Запчасти Case 885B AWD (09-46[01]) - CAB, REAR-VIEW MIRROR (09) - CHASSIS/ATTACHMENTS

Схема запчастей Case 885B AWD - (09-46[01]) - CAB, REAR-VIEW MIRROR (09) - CHASSIS/ATTACHMENTS
2
6
4
1
7
3
09-36
5
FIT
1:1
100%

Артикул

Название

Примечание

Количество

1

833-40305

SPRING NUT,M5, U

2шт.

2

14358721

HEX SOC SCREW,M5 x 35mm, Cl 8.8

2шт.

3

87406924

REAR VIEW MIRROR

1шт.

4

87363070

ARM

LH

1шт.

4

87363073

ARM

RH

1шт.

5

87350494

MIRROR ASSY.,240mm x 329mm

2шт.

6

87656138

BOLT,M8 x 78.1mm, Cl 10.9

2шт.

7

83990583

LOCK WASHER,M8 x 14.8mm OD x 2.1mm Thk

2шт.

Выбрано товаров: 8