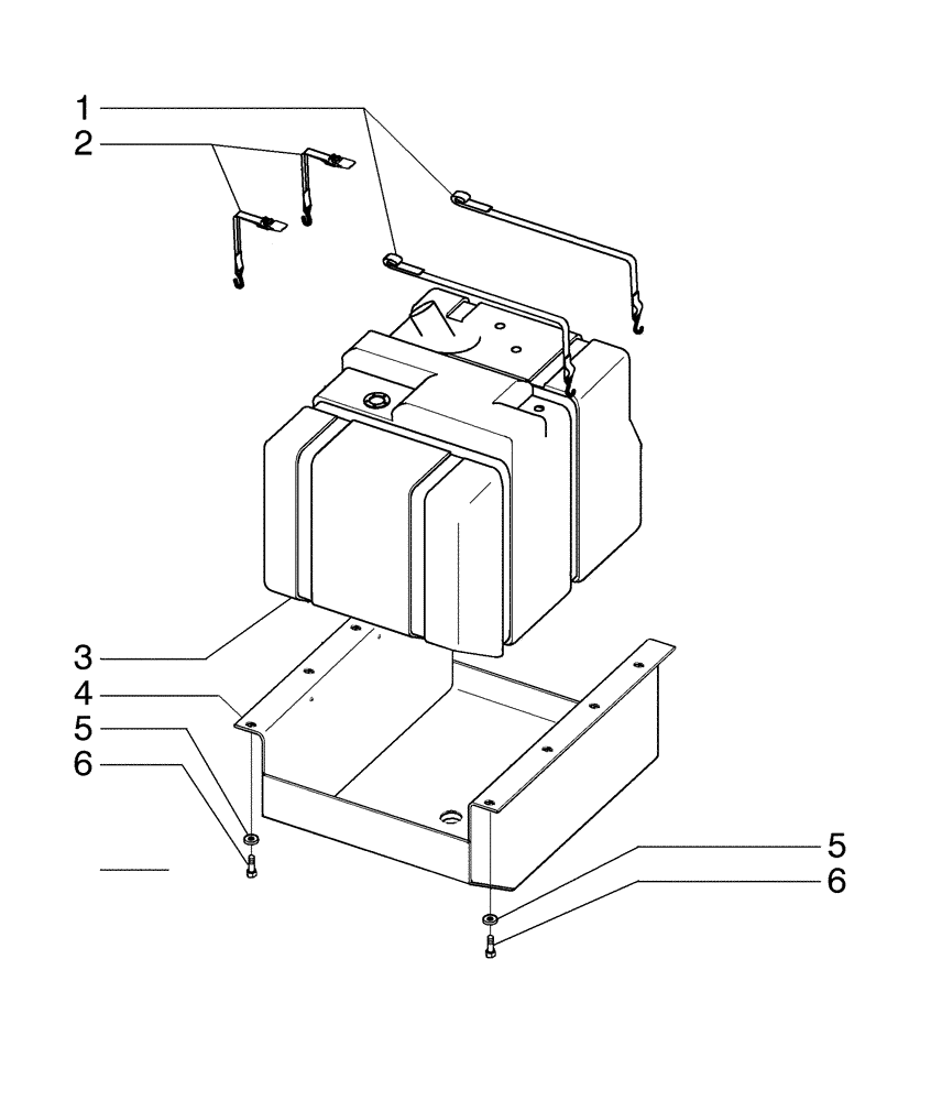
Запчасти Case 845B (03-03[01]) - FUEL TANK (03) - FUEL SYSTEM

Схема запчастей Case 845B - (03-03[01]) - FUEL TANK (03) - FUEL SYSTEM
2
6
3
5
1
6
5
4
FIT
1:1
100%

Артикул

Название

Примечание

Количество

1

84275608

STRAP

2шт.

2

366905A1

SECURING STRAP

2шт.

3

47572392

FUEL TANK

1шт.

4

84319542

SUPPORT

1шт.

5

70930850

WASHER,0.53" ID x 1.5" OD x 0.25" Thk

8шт.

6

86637974

BOLT,Hex, M12 x 1.25 x 25mm, Cl 8.8, Full Thd

8шт.

Выбрано товаров: 6