Запчасти Case 865B (08-08[01]) - CIRCLE SHIFT HYDRAULIC SYSTEM (08) - HYDRAULICS

Схема запчастей Case 865B - (08-08[01]) - CIRCLE SHIFT HYDRAULIC SYSTEM (08) - HYDRAULICS
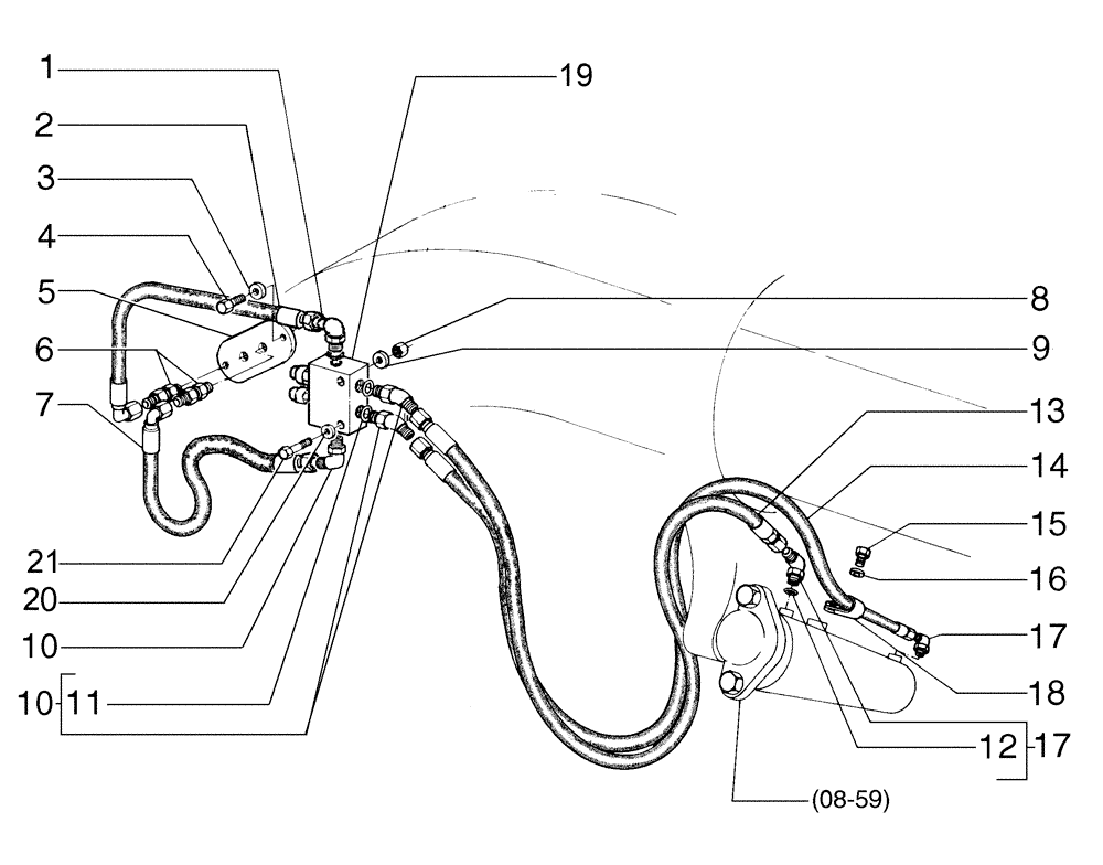
6
1
11
5
16
9
08-59
18
17
20
17
15
14
12
7
19
2
8
21
3
10
13
4
10
FIT
1:1
100%

Артикул

Название

Примечание

Количество

1

218-5106

90 ELBOW,90 Degree Elbow, 3/4" - 16 Male JIC x 3/4" - 16 Male ORB

1шт.

2

75252544

FLEXIBLE HOSE

1шт.

3

10730301

WASHER,8.15mm ID x 17mm OD x 2mm Thk

2шт.

4

16043231

SCREW,Hex, M8 x 16mm, Cl 10.9, Full Thd

2шт.

5

75267102

COVER

1шт.

6

70927261

HYD CONNECTOR

2шт.

7

75237612

FLEXIBLE HOSE

1шт.

8

16100821

NUT,M8, Cl 10

4шт.

9

10730301

WASHER,8.15mm ID x 17mm OD x 2mm Thk

4шт.

10

70922507

ELBOW

3шт.

11

70921349

O-RING,0.087" Thk x 0.644" ID, -908, Cl 6, 90 Duro

6шт.

12

70921349

O-RING,0.087" Thk x 0.644" ID, -908, Cl 6, 90 Duro

1шт.

13

75322766

FLEXIBLE HOSE,12.7mm ID x 1020mm L, SAE 100R2

1шт.

14

75321941

FLEXIBLE HOSE

1шт.

15

70922763

SCREW

1шт.

16

70929156

WASHER,0.41" ID x 0.81" OD x 0.06" Thk

1шт.

17

218-5106

90 ELBOW,90 Degree Elbow, 3/4" - 16 Male JIC x 3/4" - 16 Male ORB

3шт.

18

70928010

CLAMP

1шт.

19

75325021

VALVE

1шт.

Page 08-37

1шт.

20

70630753

WASHER

2шт.

21

16043831

SCREW,Hex, M8 x 1.25 x 30mm, Cl 10.9, Full Thd

2шт.

Выбрано товаров: 22