Запчасти Case 865B (09-47[02]) - CAB, REAR WIPER - OPTIONAL (09) - CHASSIS/ATTACHMENTS

Схема запчастей Case 865B - (09-47[02]) - CAB, REAR WIPER - OPTIONAL (09) - CHASSIS/ATTACHMENTS
2
10
11
5
6
13
12
8
09-49(02)
9
1
3
4
7
FIT
1:1
100%

Артикул

Название

Примечание

Количество

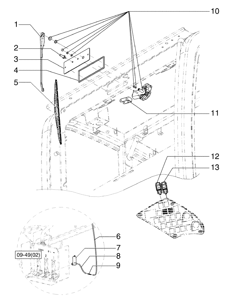
1

84322803

WIPER ARM,Single, 505mm L

1шт.

1

84323983

WINDSHIELD WIPER,Single, 380mm L

Low Profile

1шт.

2

82030999

JET

1шт.

3

84318941

SUPPORT

1шт.

4

84318933

TRIM

1шт.

5

84322799

WIPER BLADE,550mm L

1шт.

5

84323984

WIPER BLADE

Low Profile

1шт.

6

84326487

HOSE,3mm ID x 1300mm L

1шт.

7

84318939

PUMP,24V

1шт.

8

84326489

HOSE,3mm ID x 200mm L

1шт.

9

84326495

VALVE

1шт.

10

84322808

WIPER MOTOR,24V

1шт.

11

84330389

SPACER

1шт.

12

84143617

SWITCH

1шт.

13

84143614

SWITCH

1шт.

Выбрано товаров: 0