Запчасти Case 865B AWD (06-09[01]) - TRANSMISSION OIL COOLER (06) - POWER TRAIN

Схема запчастей Case 865B AWD - (06-09[01]) - TRANSMISSION OIL COOLER (06) - POWER TRAIN
10
17
2
11
7
15
10
5
14
2
5
8
9
10
8
1
4
12
13
2
10
6
16
3
FIT
1:1
100%

Артикул

Название

Примечание

Количество

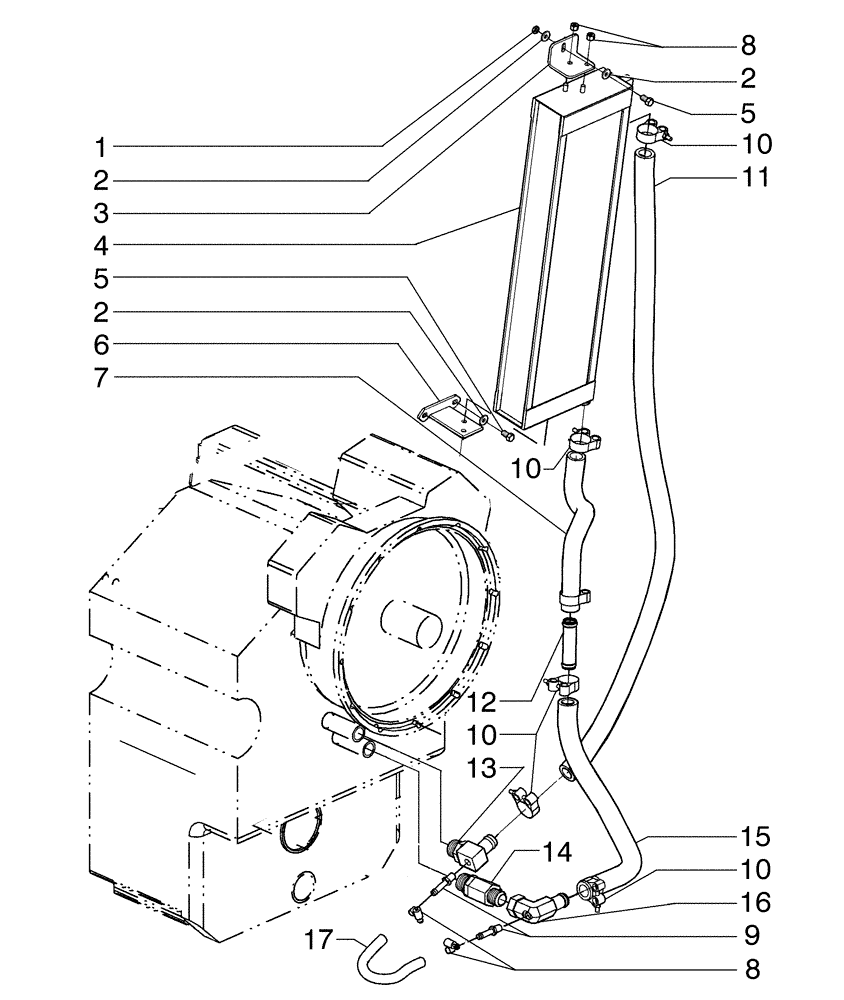
1

829-4408

NUT,Thin, M8 x 1.25, Cl 05

2шт.

2

12646704

WASHER,8.15mm ID x 20mm OD x 2mm Thk

4шт.

3

87752061

SUPPORT

1шт.

4

87751052

OIL COOLER

1шт.

5

16043331

SCREW,Hex, M8 x 1.25 x 18mm, Cl 10.9, Full Thd

3шт.

6

84238418

SUPPORT

1шт.

7

84260276

HOSE

1шт.

8

217-151

FITTING,3/8" Hose Barb x 1/4" Male NPTF

2шт.

9

214-1406

HOSE CLAMP,#06, 0.44" - 0.78", Type F Worm

2шт.

10

87372829

CLAMP,1.40" - 1.56"

6шт.

11

84287780

HOSE,25.4mm ID x 1450mm L, SAE 100R3

1шт.

12

84478167

TUBE

1шт.

13

84570512

ELBOW

1шт.

14

70922739

HYD CONNECTOR

1шт.

15

84287779

HOSE,25.4mm ID x 580mm L, SAE 100R3

1шт.

16

84570513

ELBOW

1шт.

17

84570456

HOSE,9.53mm ID x 250mm L, SAE 30R2

1шт.

Выбрано товаров: 17