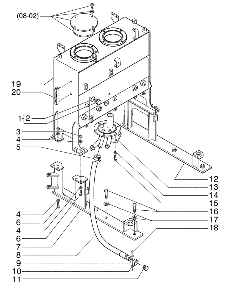
Запчасти Case 865B AWD (08-01[02]) - TANK AND SUPPORTS (08) - HYDRAULICS

Схема запчастей Case 865B AWD - (08-01[02]) - TANK AND SUPPORTS (08) - HYDRAULICS
11
1
14
12
6
4
17
20
5
7
8
2
6
18
10
16
19
3
4
08-02
13
4
9
15
FIT
1:1
100%

Артикул

Название

Примечание

Количество

1

70921216

PLUG

2шт.

2

70926538

O-RING,16-1, Cl 8, 1.171" ID x .116" Thk

2шт.

3

16105011

NUT,Hex, M12 x 1.25, Cl 8

8шт.

4

10520001

WASHER,12.2mm ID x 22mm OD x 3mm Thk

16шт.

5

214-2114

CLAMP,35.56mm - 39.62mm

1шт.

6

15540631

BOLT,Hex, M12 x 1.25 x 40mm, Cl 10.9, Full Thd

8шт.

7

84168341

SUPPORT

LH

1шт.

8

75325498

HOSE,25.4mm ID x 1100mm L, SAE 100R3

1шт.

9

10730301

WASHER,8.15mm ID x 17mm OD x 2mm Thk

1шт.

10

515-23381

CLAMP,1 1/2", Insul, 3/8" Bolt

1шт.

11

79054457

PLUG

1шт.

12

47544119

BRACKET

RH

1шт.

13

84317729

FLANGE

1шт.

14

14496621

WASHER,10.5mm ID x 21mm OD x 2mm Thk

16шт.

15

11106231

BOLT,Hex, M10 x 1.5 x 25mm, Cl 10.9

14шт.

16

15981231

BOLT,Hex, M16 x 1.5 x 65mm, Cl 10.9

6шт.

17

70677010

WASHER,16.67mm ID x 38.1mm OD x 7.94mm Thk

6шт.

18

16043231

SCREW,Hex, M8 x 16mm, Cl 10.9, Full Thd

1шт.

19

84149453

RESERVOIR, HYDRAULIC

1шт.

20

226456A1

LEVEL GAUGE

1шт.

Выбрано товаров: 20