Запчасти Case 865B AWD (08-21[01]) - RIPPER HYDRAULIC SYSTEM (08) - HYDRAULICS

Схема запчастей Case 865B AWD - (08-21[01]) - RIPPER HYDRAULIC SYSTEM (08) - HYDRAULICS
6
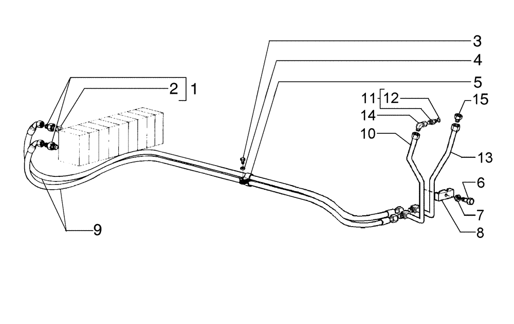
2
3
4
9
15
8
12
13
10
11
7
5
14
1
FIT
1:1
100%

Артикул

Название

Примечание

Количество

1

70922457

HYD CONNECTOR

2шт.

2

70921885

O-RING,0.078" Thk x 0.468" ID, -906, Cl 6, 90 Duro

2шт.

3

70927400

BOLT

1шт.

4

70915815

WASHER

1шт.

5

70929872

CLAMP

1шт.

6

11106831

SCREW,Hex, M10 x 40mm, Cl 10.9, Full Thd

1шт.

7

12638601

WASHER,M10 x 18 x 2

1шт.

8

70623355

COLLAR

1шт.

9

75253148

FLEXIBLE HOSE

2шт.

10

87544631

TUBE,9.7 mm ID x 12.7 mm OD

1шт.

11

70921409

HYD CONNECTOR

1шт.

12

70921349

O-RING,0.087" Thk x 0.644" ID, -908, Cl 6, 90 Duro

1шт.

13

87544632

TUBE,9.7 mm ID x 12.7 mm OD

1шт.

14

70921279

ELBOW

2шт.

15

NSS

NOT SOLD SEPARAT

Plug

2шт.

Выбрано товаров: 15