Запчасти Case 865B AWD (08-27[01]) - MOLDBOARD LIFT HYDRAULIC ACCUMULATOR (08) - HYDRAULICS

Схема запчастей Case 865B AWD - (08-27[01]) - MOLDBOARD LIFT HYDRAULIC ACCUMULATOR (08) - HYDRAULICS
16
17
1
3
14
15
20
19
2
5
1
5
7
21
18
13
9
3
5
12
20
4
6
6
10
8
1
11
FIT
1:1
100%

Артикул

Название

Примечание

Количество

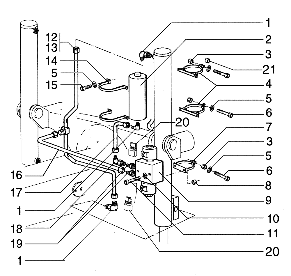
1

218-5106

90 ELBOW,90 Degree Elbow, 3/4" - 16 Male JIC x 3/4" - 16 Male ORB

3шт.

2

75256029

ACCUMULATOR

2шт.

3

15500121

NUT

6шт.

4

75255630

CLAMP

4шт.

5

10516871

LOCK WASHER,10.2mm ID x 17.7mm OD x 2.5mm Thk

10шт.

6

11106431

SCREW,Hex, M10 x 1.5 x 30mm, Cl 10.9, Full Thd

6шт.

7

75255628

CLAMP

2шт.

8

70920329

NUT

4шт.

9

73160850

HYDRAULIC VALVE

2шт.

Page 08-36

1шт.

10

70677004

WASHER,7.14mm ID x 15.88mm OD x 3.42mm Thk

4шт.

11

70934150

SCREW

4шт.

12

75255625

TUBE

1шт.

13

75255622

TUBE

1шт.

14

73160848

CLAMP

4шт.

15

11106031

BOLT,Hex, M10 x 1.5 x 20mm, Cl 10.9

8шт.

16

75255618

TUBE,9.7 mm ID, 12.7 mm OD, 74, 59 mm Length

2шт.

17

75255620

TUBE,9.7 mm ID, 12.7 mm OD, 68, 58 mm Length

2шт.

18

70921279

ELBOW

2шт.

19

70921409

HYD CONNECTOR

4шт.

20

75322270

ELEC CONNECTOR

4шт.

21

75240843

SPACER

4шт.

Выбрано товаров: 22